• Part: ZD25D80
  • Description: 8 Megabit Serial Flash Memory
  • Manufacturer: Zetta
  • Size: 959.19 KB
Download ZD25D80 Datasheet PDF
Zetta
ZD25D80
ZD25D80 is 8 Megabit Serial Flash Memory manufactured by Zetta.
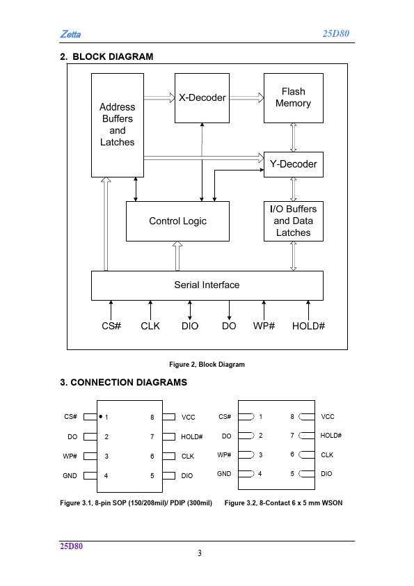
FEATURES Single power supply operation - Full voltage range: 2.7-3.6 volt 8 Mbit Serial Flash - 8 M-bit/1024 K-byte/4096 pages - 256 bytes per programmable page - Uniform 4K-byte Sectors/64K-byte Blocks Standard and Dual - Standard SPI: CLK, CS#, DI, DO, WP#, - Dual SPI: CLK, CS#, DIO, DO, WP#, - Fast Read Dual Output instruction - Auto-increment Read capability High performance - 85MHz clock rate for one data bit - 80MHz clock rate for two data bits Low power consumption - 9 m A typical active current - 1 u A typical power down current Flexible Architecture with 4KB sectors - Sector Erase (4K-bytes) - Block Erase (64K-bytes) - Page Program up to 256 bytes - More than 100K erase/write cycles - More than 20-year data retention Software and Hardware Write Protection: - Write Protect all or portion of memory via software - Enable/Disable protection with WP# pin High performance program/erase speed - Page program time: 0.9ms typical - Sector erase time: 50ms typical - Block erase time: 300ms typical - Chip erase time: 5 Seconds typical Package Options - 8-pin SOIC 150/208-mil - USON8 (3- 2mm) - USON8 (3- 3mm) - WSON8 (6- 5mm) - All Pb-free packages are Ro HS pliant GENERAL DESCRIPTION The ZD25D80 is a 8 Megabit (1024K-byte) Serial Flash memory, with advanced write protection mechanisms. The ZD25D80 supports the standard Serial Peripheral Interface (SPI), and a high performance Dual output using SPI pins: Serial Clock, Chip Select, Serial DIO, DO, WP#. SPI clock frequencies of up to 85MHz are supported allowing equivalent clock rates of 80MHz for Dual Output. The memory can be programmed 1 to 256 bytes at a time, using the Page Program...