• Part: ZD25Q40
  • Description: 4 Megabit Serial Flash Memory
  • Manufacturer: Zetta
  • Size: 1.45 MB
Download ZD25Q40 Datasheet PDF
Zetta
ZD25Q40
ZD25Q40 is 4 Megabit Serial Flash Memory manufactured by Zetta.
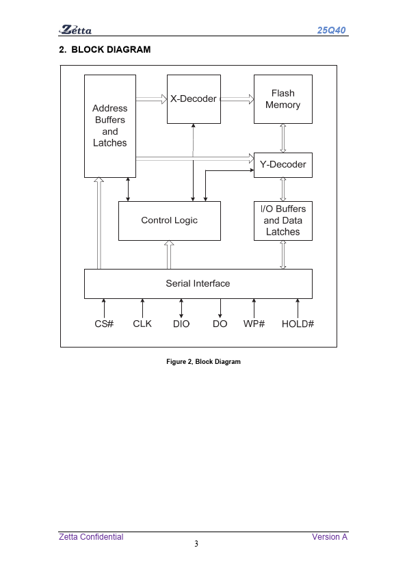
25Q40 4 Megabit Serial Flash Memory with 4Kbytes Uniform Sector Features Family of SPI Flash Memories - ZD25Q: 4M-bit / 512K-byte - Standard SPI: CLK, /CS, DI, DO, /WP, /Hold - Dual SPI: CLK, /CS, IO0, IO1, /WP, /Hold - Quad SPI: CLK, /CS, IO0, IO1, IO2, IO3 Flexible Architecture with 4KB sectors - Uniform Sector Erase (4K-bytes) - Uniform Block Erase (32K and 64K-bytes) - Program 1 to 256 byte per programmable page Highest Performance Serial Flash - 108MHz Standard/Dual/Quad SPI clocks - More than 100,000 erase/program cycles - More than 20-year data retention - Continuous Read With 8/16/32/64-byte Wrap Low Power consumption - 8 m A typical active current - 10m A active current, <1µA Power-down (typ.) GENERAL DESCRIPTION Advanced Security Features - Write protect all/portion of memory via software - Enable/Disable protection with WP# Pin Space Efficien Packaging - 8-pin SOIC 208/150-mil - 8-pad USON 2x3-mm - TSSOP8 (173mil) - Contact Zetta for KGD and other options The ZD25Q40 (4M-bit) Serial Flash memory provides a storage solution for systems with limited space, pins and power. The ZD25Q40 series offers flexibility and performance well beyond ordinary Serial Flash devices. They are ideal for code shadowing to RAM, executing code directly from Dual/Quad SPI (XIP) and storing voice, text and data. The device operates on a single 2.7V to 3.6V power supply with current consumption as low as 10m A active and 1µA for power-down. All devices are offered in space- saving packages. The ZD25Q40 support the standard Serial Peripheral Interface (SPI), as well as Dual/Quad I/O SPI: Serial Clock, Chip Select, Serial Data I/O0 (DI), I/O1 (DO), I/O2 (/WP), and I/O3 (/HOLD). SPI clock frequencies of up to 108MHz are supported allowing equivalent clock rates of 216MHz (108MHz x 2) for Dual I/O and 432MHz (108MHz x 4) for Quad I/O when using the Fast Read Dual/Quad I/O instructions. These transfer rates can outperform standard Asynchronous 8 and 16-bit Parallel Flash...