Datasheet4U Logo Datasheet4U.com
Texas Instruments logo

LMS5214 Datasheet

Manufacturer: Texas Instruments
LMS5214 datasheet preview

Datasheet Details

Part number LMS5214
Datasheet LMS5214-etcTI.pdf
File Size 274.24 KB
Manufacturer Texas Instruments
Description 80mA Low Dropout Voltage Regulator
LMS5214 page 2 LMS5214 page 3

LMS5214 Overview

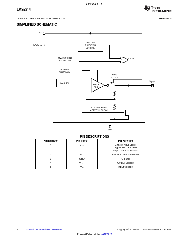
The LMS5214 is a µCap, low dropout voltage regulator with very low quiescent current, 110µA typical, at 80mA load. It also has very low dropout voltage, typically 2mV at light load and 300mV at 80mA. The LMS5214 is an enhanced version of the industry standard LMS5213 with auto discharge function which actively discharges the output voltage to ground when the device is placed in shutdown mode.

LMS5214 Key Features

  • 2 (Typical Unless Noted)
  • Space Saving SOT Package
  • Low Quiescent Current: 70μA
  • Low Dropout Voltage: 2mV
  • Stability With Low-ESR Ceramic Capacitors
  • Auto Discharge
  • Fast Turn-On
  • Low Temperature Coefficient
  • Current and Thermal Limiting
  • Zero Current in Shutdown Mode

LMS5214 from other manufacturers

See all manufacturers

Brand Logo Part Number Description Other Manufacturers
National Semiconductor Logo LMS5214 80mA / Low Dropout Voltage Regulator National Semiconductor
Texas Instruments logo - Manufacturer

More Datasheets from Texas Instruments

See all Texas Instruments datasheets

Part Number Description
LMS1485 5V Low Power RS-485 Differential Bus Transceiver
LMS1585A 5A and 3A Low Dropout Fast Response Regulators
LMS1587 5A and 3A Low Dropout Fast Response Regulators
LMS33460 3-V Undervoltage Detector
LMS3635-Q1 400-kHz Step-Down Converter
LMS3655 400-kHz DC-DC Step-Down Converter
LMS3655-Q1 400-kHz Step-Down Converter
LMS4684 Dual SPDT Analog Switch
LMS485E Low Power RS-485 / RS-422 Differential Bus Transceiver
LMS75ALS176A Differential Bus Transceivers

LMS5214 Distributor

Datasheet4U Logo
Since 2006. D4U Semicon. About Datasheet4U Contact Us Privacy Policy Purchase of parts