Download TPS653860-Q1 Datasheet PDF
Texas Instruments
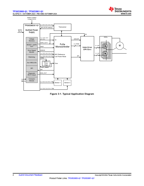
TPS653860-Q1
Features - Qualified for automotive applications - AEC-Q100 qualified with the following results: - Device temperature grade 1: - 40°C to +125°C ambient operating temperature - Device temperature grade 0: - 40°C to +150°C ambient operating temperature - Device HBM ESD classification level 2 - Device CDM ESD classification level C4B - Functional Safety-pliant (targets, confirmed on device release) - Developed for functional safety applications - Documentation available to aid ISO 26262 system design up to ASIL D - Systematic capability and hardware integrity up to ASIL D - Input voltage range - 5 to 36V for initial power up - 3.5 to 36V full functionality after initial power up, limited operation to 2.3V - Output Supply Rails - Synchronous buck-boost preregulator with configurable spread-spectrum, 4.3V, 5 V, 6V or 6.8V and low IQ mode with the following options: - 2.8A in buck mode (option 0 variant) - 1.5A in buck mode (option 1 variant) - Four LDOs: 1.0V to 1.8V in 50m V steps, 2.5 V,...