• Part: TXUN0104
  • Description: 4-Bit Fixed Direction Voltage-Level Translator
  • Manufacturer: Texas Instruments
  • Size: 2.39 MB
TXUN0104 Datasheet (PDF) Download
Texas Instruments
TXUN0104

Overview

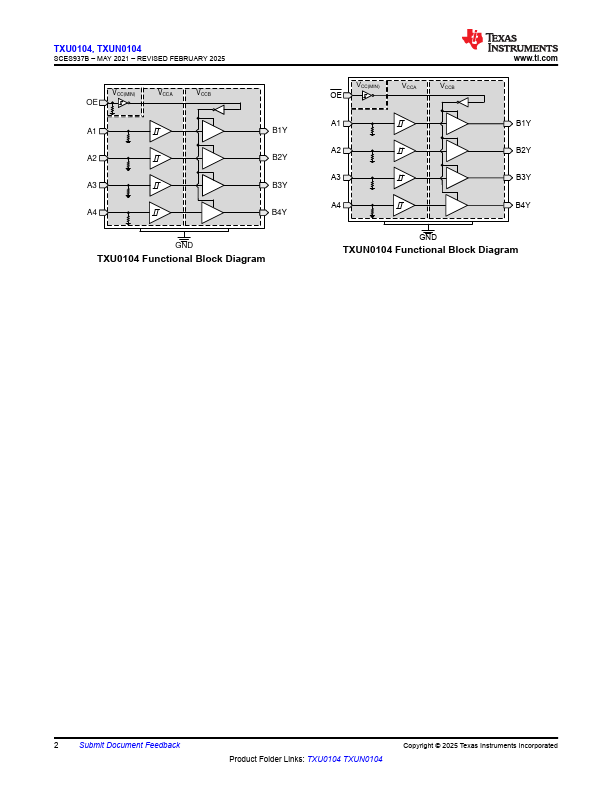
TXU0104 / TXUN0104 is a 4-bit, dual-supply noninverting fixed direction voltage level translation device. Ax pins are referenced to VCCA logic level, OE pin can be referenced to either VCCA or VCCB logic levels, and Bx pins are referenced to VCCB logic levels.

  • Fully configurable dual-rail design allows each port to operate from 1.1V to 5.5V
  • Up to 200Mbps support for 3.3V to 5.0V
  • Schmitt-trigger inputs allows for slow and noisy inputs
  • Inputs with integrated static pull-down resistors prevent channels from floating
  • High drive strength (up to 12mA at 5V)
  • Low power consumption - 2.5µA maximum (25°C) - 6µA maximum (-40°C to 125°C)
  • VCC isolation and VCC disconnect (Ioff-float) feature - If either VCC input is <100 mV or disconnected, all outputs are disabled and become highimpedance
  • Ioff supports partial-power-down mode operation
  • Control logic (OE) with VCC(MIN) circuitry allows for control from either A or B port
  • TXU0104 supports active high OE, TXUN0104 supports active low OE