• Part: NCP81162
  • Description: Current Balancing Phase Doubler
  • Manufacturer: onsemi
  • Size: 369.54 KB
Download NCP81162 Datasheet PDF
onsemi
NCP81162
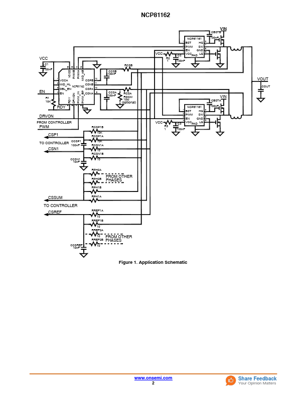
Features - Works with Controllers having 3-level PWM Outputs - Reproduces 3-level PWM Signals to Drivers - Very Short Delay - Doubles Single-phase to 2-phase - Multiple Doublers can Double N Phases to 2 x N Phases - These Devices are Pb-Free, Halogen Free/BFR Free and are Ro HS pliant Applications - High Current Multiphase Applications - Expand the Single-phase Rail of a Dual Rail Controller to 2 Phases Share Feedback Your Opinion Matters DATA SHEET .onsemi. 1 QFN16 MN SUFFIX CASE 485AE MARKING DIAGRAM 16 1 81162 ALYWG G 81162 = Specific Device Code A = Assembly Location L = Wafer Lot Y = Year W = Work Week G = Pb-Free Package (Note: Microdot may be in either location) PIN DESCRIPTIONS VCCD PWMB PWMA MID_AB 1 VCCA MID_HL DBL_EN CSPB CSNB CSPA CSNA RDY DRVON PWM_IN PWM_BP (Top View) ORDERING INFORMATION Device Package Shipping† NCP81162MNR2G QFN16 (Pb-Free) 3000 / Tape & Reel †For information on tape and reel specifications, including part orientation and tape...