Datasheet4U Logo Datasheet4U.com

XM25QH64A

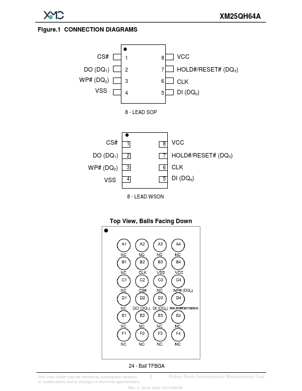
The XM25QH64A is 64-Megabit 3V Serial Flash Memory designed by XMC.

Product Overview

📥 Download Datasheet

Datasheet preview – XM25QH64A

Datasheet Details

Part number XM25QH64A
Manufacturer XMC
File Size 1.81 MB
Description 64-Megabit 3V Serial Flash Memory
Datasheet download datasheet XM25QH64A-XMC.pdf
Additional preview pages of the XM25QH64A datasheet.

Product details

Description

The XM25QH64A is a 64 Megabit (8,192K-byte) Serial Flash memory, with advanced write protection mechanisms.

Features

Other Datasheets by XMC
Published: |