Datasheet4U Logo Datasheet4U.com

S-5712A Datasheet Hall-effect Switch-ic

Manufacturer: ABLIC

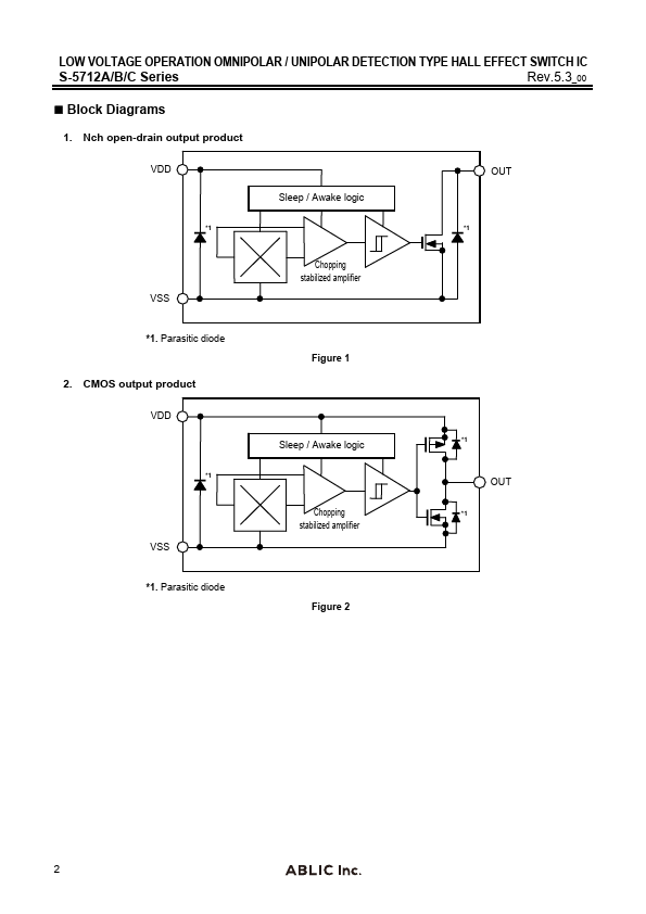
Overview: S-5712A/B/C Series .ablic. © ABLIC Inc., 2010-2024 LOW VOLTAGE OPERATION OMNIPOLAR / UNIPOLAR DETECTION TYPE HALL EFFECT SWITCH IC Rev.5.3_00 This IC, developed by CMOS technology, is a high-accuracy Hall effect switch IC that operates at a low voltage and low current consumption. The output voltage changes when this IC detects the intensity level of magnetic flux density. Using this IC with a magnet makes it possible to detect the open / close in various devices. High-density mounting is possible by using the small SOT-23-3 or the super-small SNT-4A package. Due to its low voltage operation and low current consumption, this IC is suitable for battery-operated portable devices. Also, due to its high-accuracy magnetic characteristics, this IC can make operation's dispersion in the system bined with magnet smaller. ABLIC Inc. offers a "magnetic simulation service" that provides the ideal bination of magnets and our Hall ICs for customer systems. Our magnetic simulation service will reduce prototype production, development period and development costs. In addition, it will contribute to optimization of parts to realize high cost performance. For more information regarding our magnetic simulation service, contact our sales representatives.

Datasheet Details

Part number S-5712A
Manufacturer ABLIC
File Size 766.16 KB
Description HALL-EFFECT SWITCH-IC
Datasheet S-5712A-ABLIC.pdf

Key Features

  • Pole detection.
  • 1:.
  • Output logic.
  • 1:.
  • Output form.
  • 1:.
  • Magnetic sensitivity.
  • 1:.
  • Operating cycle (current consumption).
  • 1:.
  • Power supply voltage range:.
  • Operation temperature range:.
  • Lead-free (Sn 100%), halogen-free Detection of omnipolar, S pole or N pole Active "L", active "H" Nch open-drain output, CMOS output BOP = 1.8 mT typ. BOP = 3.0 mT typ. BOP = 4.5 mT typ. BOP = 7.0 mT typ. Product with omnipolar.

S-5712A Distributor