• Part: EMH7090
  • Description: 6A HV Asynchronous 500kHz Boost Converter
  • Manufacturer: Elite Semiconductor Microelectronics Technology
  • Size: 886.97 KB
Download EMH7090 Datasheet PDF
Elite Semiconductor Microelectronics Technology
EMH7090
EMH7090 is 6A HV Asynchronous 500kHz Boost Converter manufactured by Elite Semiconductor Microelectronics Technology.
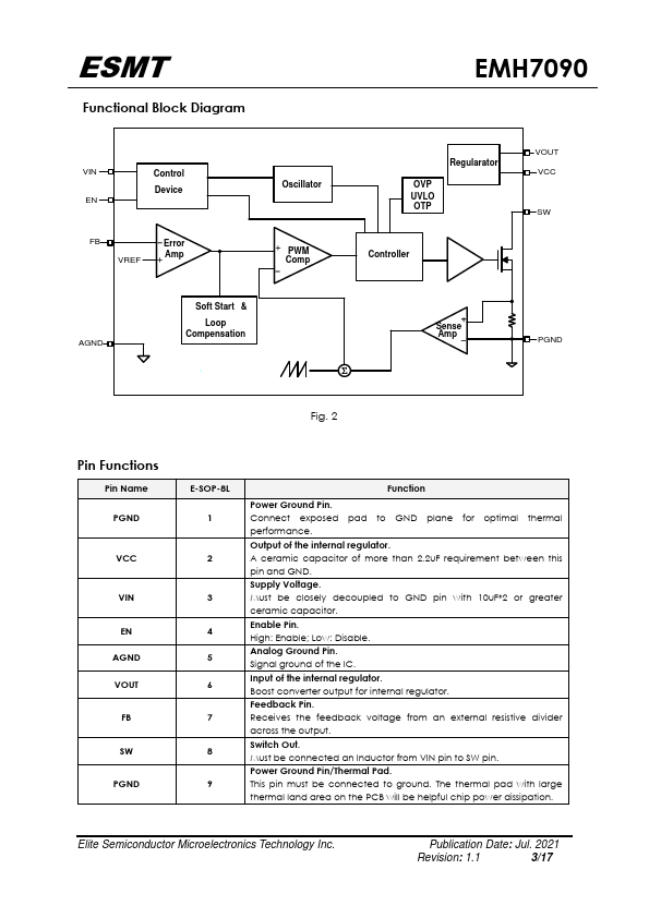
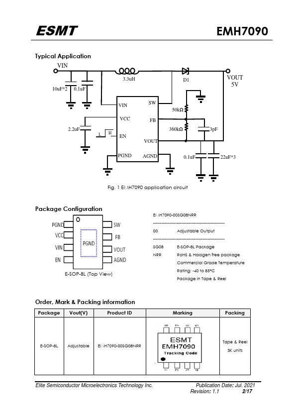
Description The EMH7090 is a monolithic asynchronous boost DC-DC converter. Its PWM circuitry with built-in 6A 60mΩ power MOSFET make this regulator highly power efficient. The EMH7090 has wide input voltage range from 2.9V~12V to support applications with single-cell or two-cell lithium batteries. The device could have 6A switching current capacity to provide an output voltage up to 14V. Features - Input Voltage Range 2.9V~12V - Adjustable Output Voltage Range 5V~14V - Internal Fixed PWM frequency: 500k Hz - Precision Feedback Reference Voltage: 0.6V - Internal 60mΩ, 6A, 16V Power MOSFET - Internal Soft-start - Over Temperature Protection - Over Voltage Protection - Cycle by Cycle Over Current Protection - Package: E-SOP-8L The EMH7090 uses current mode PWM control topology to regulate the output voltage. That works into power saving mode to get better efficiency for battery in light load condition. In heavy load condition, the EMH7090 works into PWM operating mode. The EMH7090 non-inverting input of error amplifier connects to 0.6V precision reference voltage and internal soft-start function can reduce the inrush current. In addition, overvoltage protection, cycle by cycle over current protection, and thermal shutdown protection are designed into this chip. Applications - Chargers - LCD Displays - LED Application - Bluetooth Speaker - Power Bank - Handheld or Portable Devices The EMH7090 is available in E-SOP-8L package and provides space-saving PCB for the application fields. Elite Semiconductor Microelectronics Technology Inc. Publication Date: Jul. 2021 Revision: 1.1 1/17 ESMT Typical Application VIN 3.3u H D1 10u F- 2 0.1u F 2.2u F VIN VCC L H EN SW FB VOUT 50kΩ 360kΩ PGND AGND 0.1u F VOUT...