Datasheet4U Logo Datasheet4U.com
ESMT (Elite Semiconductor Microelectronics Technology) logo

EMP8045 Datasheet

Manufacturer: ESMT (Elite Semiconductor Microelectronics Technology)
EMP8045 datasheet preview

Datasheet Details

Part number EMP8045
Datasheet EMP8045-ESMT.pdf
File Size 533.78 KB
Manufacturer ESMT (Elite Semiconductor Microelectronics Technology)
Description Low-Dropout Linear Regulator
EMP8045 page 2 EMP8045 page 3

EMP8045 Overview

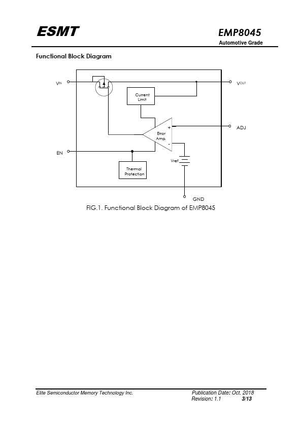
The EMP8045 is a high voltage, low quiescent current, low dropout regulator with 150mA output driving capacity. The EMP8045, which operates over an input range of 3V to 32V, is stable with any capacitors, whose capacitance is larger than 1F, and suitable for powering battery-management ICs because of the virtue of its low quiescent current consumption and low dropout voltage. EMP8045 also includes bandgap voltage...

ESMT (Elite Semiconductor Microelectronics Technology) logo - Manufacturer

More Datasheets from ESMT (Elite Semiconductor Microelectronics Technology)

See all ESMT (Elite Semiconductor Microelectronics Technology) datasheets

Part Number Description
EMP8150 CMOS Linear Regulator
EMP8160 2A Ultra Low Dropout Voltage Regulator with Internal Soft-Start
EMP8160A 2A Ultra Low Dropout Voltage Regulator with Internal Soft-Start
EMP8165 2A Ultra Low Dropout Voltage Regulator
EMP8165A 2A Ultra Low Dropout Voltage Regulator
EMP8166 1A Ultra Low Dropout Voltage Regulator with Internal Soft-Start
EMP8166A 1A Ultra Low Dropout Voltage Regulator with Internal Soft-Start
EMP8170 3A Ultra Low Dropout Voltage Regulator with Internal Soft-Start
EMP8170A 3A Ultra Low Dropout Voltage Regulator with Internal Soft-Start

EMP8045 Distributor

Datasheet4U Logo
Since 2006. D4U Semicon. About Datasheet4U Contact Us Privacy Policy Purchase of parts