Download JW7265 Datasheet PDF
JW7265 page 2
Page 2
JW7265 page 3
Page 3

JW7265 Description

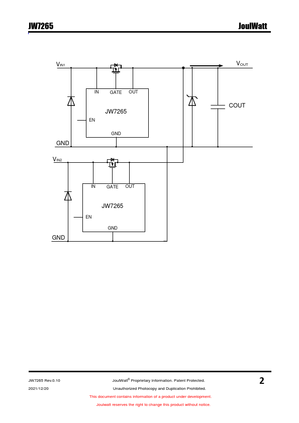
The JW®7265 is a positive voltage ideal diode-OR controller that drives an external N-channel MOSFET. Forming the diode-OR with N-channel MOSFETs instead of Schottky diodes reduces power consumption, heat dissipation and PC board area. The EN of the JW7265 is available to place the JW7265 in shutdown mode disabling the external N-channel MOSFET and minimizing the quiescent current.

JW7265 Key Features

  • Replaces power schottky diodes
  • Controls external N-Channel MOSFET
  • 0.3µs turn-off time limits peak fault current
  • Wide operating voltage range: 6V to 60V
  • 65-V transient capability
  • Smooth switchover without oscillation
  • No reverse DC current
  • Enable pin feature
  • 0.4-uA shutdown current (EN=Low)
  • 295uA operating quiescent current