• Part: RT9426A
  • Description: System Side Single Cell Fuel Gauge
  • Manufacturer: Richtek
  • Size: 833.29 KB
Download RT9426A Datasheet PDF
Richtek
RT9426A
RT9426A is System Side Single Cell Fuel Gauge manufactured by Richtek.
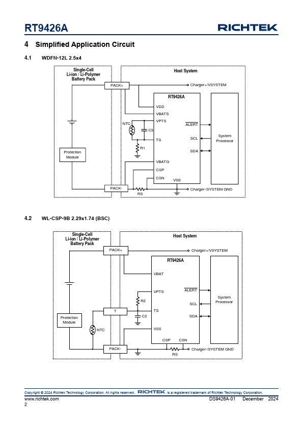
Description The RT9426A Li-Ion/Li-Polymer battery fuel gauge is a microcontroller peripheral that provides fuel gauging for single-cell battery packs. The RT9426A resides within the battery pack or on the system's main board and manages a non-removable battery or removable battery pack. The RT9426A uses the Voltaic Gauge with Current Sensing (VGCS) algorithm to report State of Charge (SOC), State of Health (SOH), Full Charge Capacity (FCC), Time to Empty (TTE), and Cycle Count. It calculates the increasing or decreasing state of charge based on the voltage difference between the battery voltage and Open Circuit Voltage (OCV), and employs current sensing pensation to report battery SOC. The Voltaic Gauge with Current Sensing algorithm can support smooth SOC tracking and does not accumulate error over time and with current changes. That is an advantage pared to Coulomb counter which suffers from SOC drift caused by current sense errors and battery self-discharge. The RT9426A provides a plete battery status monitor with an interrupt alarm function. It can actively alert the host processor when conditions of battery overvoltage, undervoltage, or over-temperature conditions during charging or discharging. This is especially useful for high C-rate battery charging applications, as it can measure battery voltage using a Kelvin sense connection to eliminate the IR drop effect for an optimal charging profile and safety. Additional useful alarm functions include under SOC alert, SOC change, and battery presence status change. The remended junction temperature range is - 40C to 125C, and the ambient temperature range is - 40C to 85C. 2 Features - Support System-Side Fuel Gauging - Battery Fuel Gauge for 1-Series (1s Xp) Li-Ion/Li-Polymer Applications - State of Charge Calculation Using Voltaic Gauge TM with Current Sensing (VGCS) - Accurate Capacity Calculation with No Accumulation Error - Report Battery SOC, SOH, FCC, TTE, and Cycle Count - Voltage Measurement: 7.5m V -...