• Part: ML7660
  • Description: 13.56MHz Wireless charging receiver LSI
  • Manufacturer: ROHM
  • Size: 630.19 KB
Download ML7660 Datasheet PDF
ROHM
ML7660
ML7660 is 13.56MHz Wireless charging receiver LSI manufactured by ROHM.
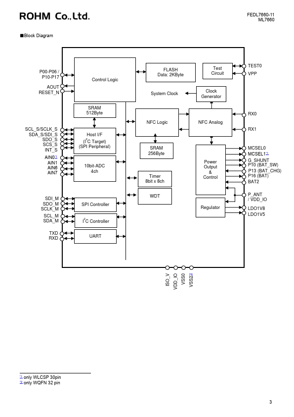
Overview ML7660 is a 13.56MHz wireless power receiving LSI. ML7660 can be bined with ML7661 to create a wireless power transfer system with a maximum power output of 1 W. ML7660 is a 13.56 MHz wireless power transfer LSI. ML7660 provides a 10-bit ADC for measuring power supply status and wireless power supply control functions in a 2.28 mm x 2.61 mm (2.44 mm square equivalent) WLCSP chip or 5 mm square 32-pin WQFN package, making it the ideal LSI for wireless power supply in small devices. In addition, it has a host interface (SPI (peripheral) / I2C (target)) function and a serial interface (SPI (controller) / I2C (target)) function, The serial interface (SPI (controller) / I2C (controller) / UART) function enables configuration data update and various sensor controls from an external microcontroller. - Features - Charging control Built-in Charging control circuit Voltage/Current supply ON/OFF function to external charging IC Voltage/Current supply ON/OFF function to external charging IC 1W receiving available - Abnormality detection function by software control and hardware control - Abnormality notification function to the transmission side - munication control - munication speed:212kbps, 424kbps - Equipped with 2Kbyte Data Flash for storing user data - Host interface - Serial interface with 1-channel peripheral/target function (SPI and I2C selectable) - Package - WLCSP30pin (S-UFLGA30-2.28x2.61-0.40-W) - WQFN32pin (P-WQFN32-0505-0.50-A63) - Applications - NFC Charging devices, e.g. - smart watches, fitness Trackers and smart wristbands - smart rings - smart glasses - true wireless stereos and hearing aids - stylus pens, wireless mouses and wireless keyboards - electric toothbrushes - beauty home appliances - personal health care devices - battery packs - rice cooker (for Batteryless) FEDL7660-11 ML7660 - Product name Product name ML7660-320GD ML7660-320HB ML7660-311HB ML7660-210GD ML7660-NN0GD ML7660-NN0HB Packages WQFN WLCSP WLCSP WQFN WQFN WLCSP Firmware...