• Part: ML7661
  • Description: Wireless charging transmitter LSI
  • Manufacturer: ROHM
  • Size: 527.55 KB
Download ML7661 Datasheet PDF
ROHM
ML7661
ML7661 is Wireless charging transmitter LSI manufactured by ROHM.
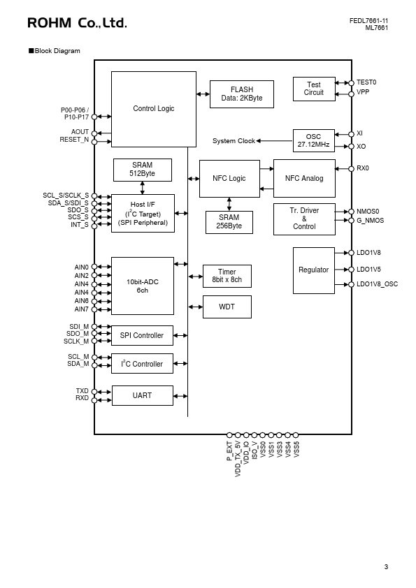
Overview ML7661 is a 13.56MHz wireless power transmission LSI. ML7661 can be bined with ML7660 to create a wireless power supply system that can supply up to 1W of power to the ML7660. ML7661 has a munication mand generation function for municating with the ML7660, a variable power transmission control function for optimizing the power transmission, and wireless power transmission functions such as detection of foreign objects while the ML7660 is attached, detached, or powered, all in a 6mm square 40-pin WQFN package. It is the ideal LSI for wireless power supply of small devices. The operating voltage is set at 5 V, allowing the device to be powered by a USB power supply such as a mobile battery. In addition, it has a host interface (SPI (peripheral) / I2C (target)) function and a serial interface (SPI (controller) / I2C (target)) function. The serial interface (SPI (controller) / I2C (controller) / UART) function enables configuration data update and various sensor controls from an external microcontroller. - Features - Charging control - Built-in 13.56MHz power transmission control circuit Transistor control output for power transmission - Abnormality detection function by software control and hardware control - munication control - Equipped with munication mand generation function with ML7660. - munication speed:212kbps, 424kbps - Equipped with 2Kbyte Data Flash for storing user data. - Host interface - Serial interface with 1-channel peripheral/target function (SPI and I2C selectable) - Package - WQFN40pin (P-WQFN40-0606-0.50-63) - Applications - NFC Charging devices, e.g. - smart watches, fitness Trackers and smart wristbands - smart rings - smart glasses - true wireless stereos and hearing aids - stylus pens, wireless mouses and wireless keyboads - electric toothbrushes - beauty home appliances - personal health care devices - battery packs - rice cooker (for Batteryless) FEDL7661-11 ML7661 - Product name Product name ML7661-320GD ML7661-311GD...