• Part: MS2400
  • Description: Isolation Modulator
  • Manufacturer: Ruimeng
  • Size: 502.24 KB
Download MS2400 Datasheet PDF
Ruimeng
MS2400
MS2400 is Isolation Modulator manufactured by Ruimeng.
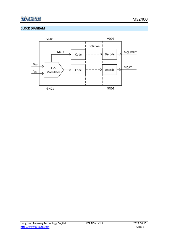
DESCRIPTION The MS2400 is a second­order Σ­Δ modulator, an on­chip digital isolator, that converts analog input signals to high­speed 1­bit bitstream. The modulator continuously samples the input signal without requiring an external sample hold circuit. The full range of analog input signal is ±320m V with a maximum data rate of 10 MHz for the converted digital stream. The VDD1 of the MS2400 is powered by 5V power supply, and VDD2 can be powered by 5V or 3V power supply. The serial interface uses digital isolation to provide better performance. The device has built­in reference voltage. The MS2400 is available in a 16­ pin SOW package and the operating temperature range is ­40°C to+125°C. FEATURES - 10MHz Clock Rate - 16 Bit No Missing Codes - Typical INL at 16 bits:±2LSB - Offset Drift: 1u V/ °C - On­chip Digital Isolator - Integrated Reference Voltage - ±250m V Analog Input Voltage (Full Range: ±320m V) - Low Power Dissipation Operation - Operating Temperature Range: ­40°C to + 125°C - SOW16 Package - Input­to­Output Momentary Withstand Voltage 60s Duration:5k V RMS Standard APPLICATIONS - AC Motor Control PRODUCT SPECIFICATION Part Number MS2400 Package SOW16 Marking MS2400 SOW16 Hangzhou Ruimeng Technology Co.,Ltd http://.relmon. VERSION: V1.1 2022.08.15 ­ PAGE 1 ­ PIN CONFIGURATION PIN DESCRIPTION Pin 1,7 2 3 4,6,10,12,15 Name VDD1 VIN+ VIN­ GND1 9,16 GND2 MDAT MCLKOUT...