• Part: SQ24801
  • Description: Advanced Load Management Controlled Load Switch
  • Manufacturer: Silergy
  • Size: 849.46 KB
Download SQ24801 Datasheet PDF
Silergy
SQ24801
SQ24801 is Advanced Load Management Controlled Load Switch manufactured by Silergy.
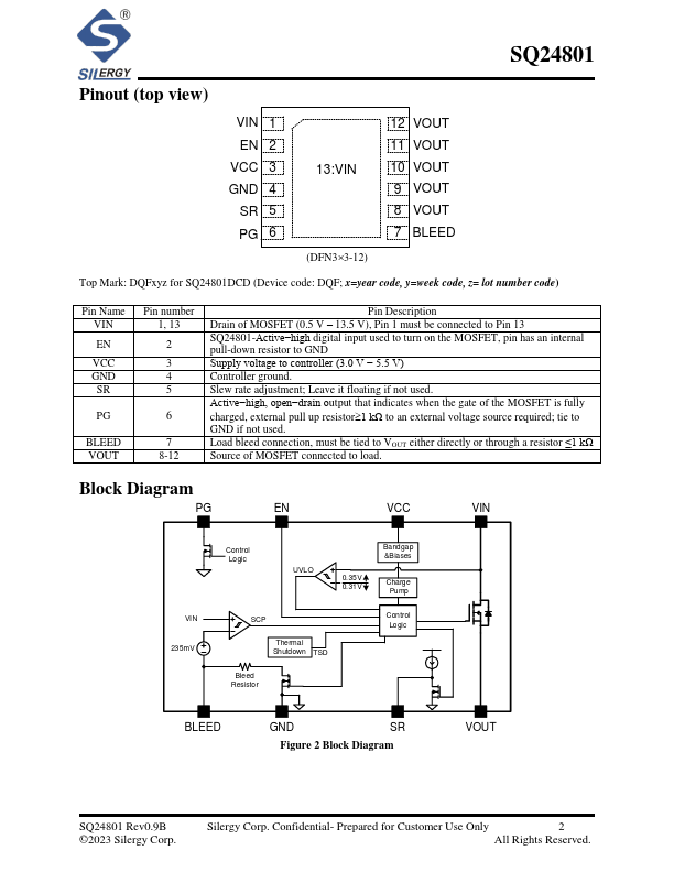
Advanced Load Management Controlled Load Switch with Low RON General Description The SQ24801 load switch is an ultra-low on resistance, pact device with inrush current limit via soft- start. For system status monitoring and downstream load control, the device provides power good signaling. With soft-start capabilities to reduce inrush current and low power consumption in a small footprint, the SQ24801 is ideal for power management and hot-swap applications. Ordering Information - (- - - ) Package Code Optional Spec Code Ordering Number Package type Note SQ24801DCD DFN33-12 ---- Typical Application Features - Advanced Controller with Charge Pump - Integrated N-Channel MOSFET with Ultra Low RON - Input Voltage Range 0.5 V to 13.5 V - Soft-start via Controlled Slew Rate - Adjustable Slew Rate Control - Power Good Signal - Thermal Shutdown - Under Voltage Lockout - Short Circuit Protection - Extremely Low Standby Current - Load Bleed (Quick Discharge) - Pb-Free Applications - Portable Electronics and Systems - Notebook and Tablet...