• Part: SQ27692
  • Description: 2A Asynchronous Step Down Regulator
  • Category: Voltage Regulator
  • Manufacturer: Silergy
  • Size: 756.31 KB
Download SQ27692 Datasheet PDF
Silergy
SQ27692
SQ27692 is 2A Asynchronous Step Down Regulator manufactured by Silergy.
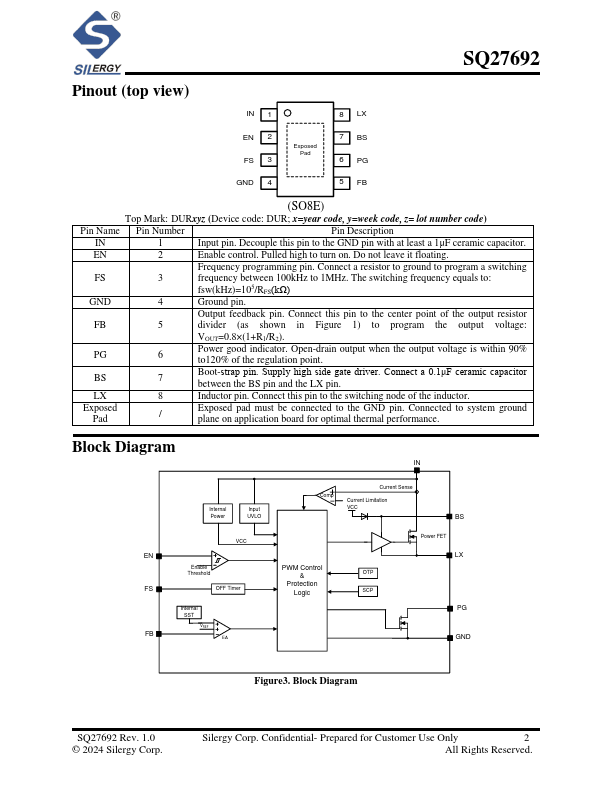
High Efficiency, 60V Input, 2A Asynchronous Step Down Regulator General Description The SQ27692 develops a high efficiency, current mode adaptive constant OFF time controlled, asynchronous step-down DC/DC converter capable of delivering 2A output current. The SQ27692 operates over a wide input voltage range from 4.5V to 60V and integrates main switch with very low RDS(ON) to minimize the conduction loss. The switching frequency is adjustable from 100k Hz to 1MHz using an external resistor. And the device Features cycle-by-cycle peak current limitation. Ordering Information Features - Low RDS(ON) for Internal N-channel Power FET (TOP):175mΩ - 4.5-60V Input Voltage Range - 2A Output Current Capability - Adjustable Switching Frequency Range: 100k Hz to1MHz - Internal Soft-start Limits the Inrush Current - Hic-cup Mode Output Short Circuit Protection - EN ON/OFF Control with Accurate Threshold - Cycle-by-cycle Peak Current Limit - 0.8V±1.5% Reference Voltage Accuracy - pact Package: SO8E Ordering Number Package type Note SQ27692FCC SO8E -- Applications - Non-isolated Telemunication Buck Regulator - Secondary High Voltage Post Regulator - Automotive Systems - Electric Bicycle Typical Applications CIN RPG ON/ OFF FS...