• Part: SY20703
  • Description: 55V Fast-Response LDO Regulator
  • Category: LDO Regulator
  • Manufacturer: Silergy
  • Size: 1.33 MB
Download SY20703 Datasheet PDF
Silergy
SY20703
SY20703 is 55V Fast-Response LDO Regulator manufactured by Silergy.
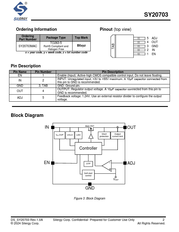
3A, 55V Fast-Response LDO Regulator General Description The SY20703 is a high-voltage, low-dropout LDO regulator with a 3A current capability. It Features fast recovery from input voltage surges and output load current changes. The SY20703 offers protection Features , including overcurrent limit, output short protection, over-input voltage protection, and over-temperature protection. The SY20703 has an adjustable output, which can be set to a voltage between 1.24V and 29.6V using an external resistor divider. The SY20703 is available in a pact TO263-5 package. Features - 3V to 55V Input Voltage Range - Adjustable Output Voltage - Low Dropout Voltage: 450mV at Full Load 3A...