• Part: SSD1800
  • Description: LCD Segment / Common Driver
  • Manufacturer: Solomon Systech
  • Size: 577.21 KB
Download SSD1800 Datasheet PDF
Solomon Systech
SSD1800
SSD1800 is LCD Segment / Common Driver manufactured by Solomon Systech.
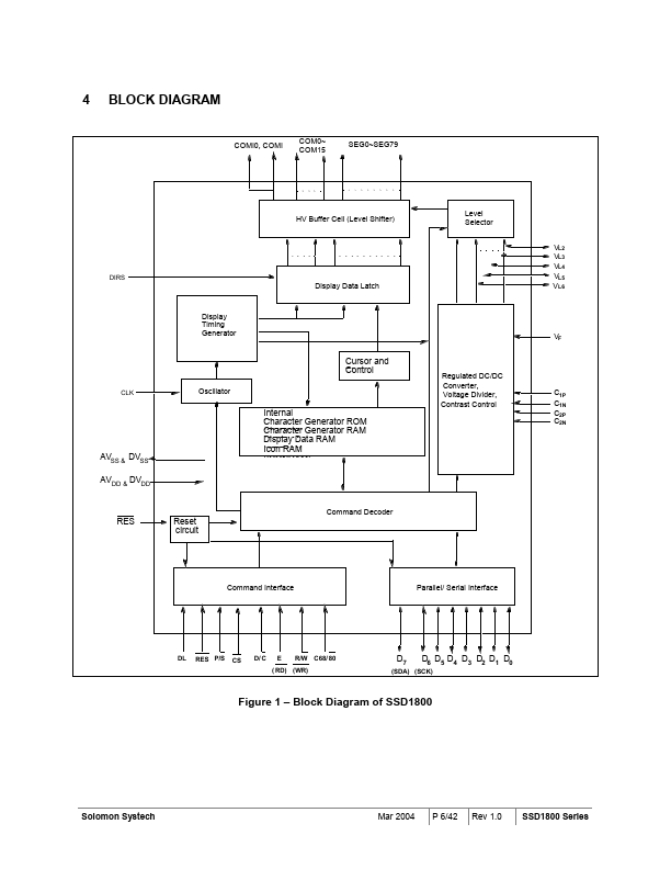
DESCRIPTION SSD1800 is a single-chip CMOS LCD driver with controller for liquid crystal dot-matrix character display system. It consists of 97 high voltage driving output pins for driving 80 Segments, 16 mons and 1 icon driving-mon. It can display 2 lines of 16 characters with 5x8 dots format. The double height character mode and line vertical scroll functions are supported. SSD1800 displays character directly from its internal 10,240 bits (256 characters x 5 x 8 dots) Character Generator ROM (CGROM). All the character codes are stored in the 512 bits (16 characters x 4 lines) Data Display RAM (DDRAM). User defined character can be loaded via 320 bits (8 characters x 5 x 8 dots) Character Generator RAM (CGRAM). In addition, there is a 80 bits Icon RAM for Icon display. Data/ mands are sent from general MCU through software selectable 6800-/8080-series patible 4/ 8-bit Parallel Interface or Serial Peripheral Interface. SSD1800 embeds a DC-DC Converter, Voltage Regulator, Voltage divider and RC oscillator that reduce the number of external ponents. With the special design on minimizing power consumption and die size, SSD1800 is suitable for portable battery-driven applications requiring a long operation period and a pact size. 2 FEATURES Single Supply Operation, 2.4V - 3.6V Maximum 5.8V LCD Driving Output Voltage Low Current Sleep Mode On-Chip 2x/3x DC-DC Converter/ External Power Supply On-Chip RC Oscillator/ External Clock On-Chip Voltage Regulator On-Chip Voltage Divider with programmable bias ratio (1/4, 1/5) 32 Level Internal Contrast Control 2 lines x 16 characters with 5x8 dots format display and 80 icons Double Height Character Mode, Blink Mode, Cursor Display and Line Vertical Scroll Functions Row remapping and column remapping (4-type LCD application available) 8/4-bit 6800-series Parallel Interface, 8/4-bit 8080-series Parallel Interface and Serial Peripheral Interface 256 Build in characters and 8 user defined characters On-Chip Memories Character...