Datasheet4U Logo Datasheet4U.com
Unisonic Technologies logo

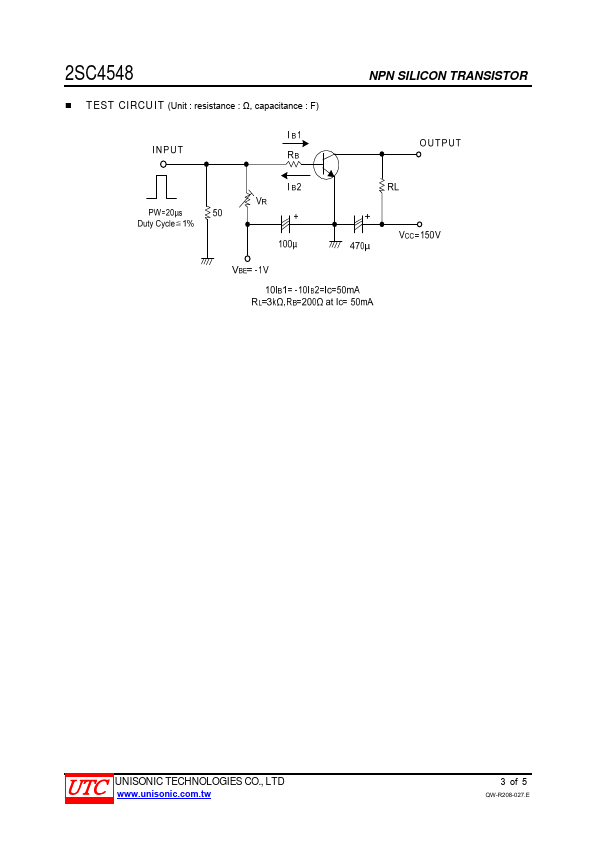
2SC4548

Manufacturer: Unisonic Technologies
2SC4548 datasheet preview

Datasheet Details

Part number 2SC4548
Datasheet 2SC4548_UTC.pdf
File Size 372.06 KB
Manufacturer Unisonic Technologies
Description NPN SILICON TRANSISTOR
2SC4548 page 2 2SC4548 page 3

2SC4548 Overview

UNISONIC TECHNOLOGIES CO., LTD 2SC4548 NPN SILICON TRANSISTOR HIGH VOLTAGE DRIVER APPLICATION.

2SC4548 Key Features

  • High breakdown voltage
  • Excellent hFE linearity
  • ORDERING INFORMATION
  • MARKING

2SC4548 from other manufacturers

See all manufacturers

Brand Logo Part Number Description Other Manufacturers
Sanyo Semicon Device Logo 2SC4548 NPN TRANSISTOR Sanyo Semicon Device
Kexin Logo 2SC4548 Transistors Kexin
GME Logo 2SC4548 NPN Epitaxial Planar Silicon Transistor GME
Bruckewell Technology Logo 2SC4548 NPN Transistor Bruckewell Technology
SeCoS Logo 2SC4548 NPN Transistor SeCoS
Unisonic Technologies logo - Manufacturer

More Datasheets from Unisonic Technologies

See all Unisonic Technologies datasheets

Part Number Description
2SC4027 NPN SILICON TRANSISTOR
2SC4226 NPN TRANSISTOR
2SC4242 SWITCHMODE SERIES NPN POWER TRANSISTORS
2SC4617 NPN Silicon Transistor
2SC4672 LOW FREQUENCY TRANSISTOR
2SC4774 HIGH FREQUENCY AMPLIFIER TRANSISTOR
2SC4793 NPN SILICON TRANSISTOR
2SC1384 NPN Transistor
2SC1623 AMPLIFIER NPN TRANSISTOR
2SC1623 NPN SILICON TRANSISTOR

2SC4548 Distributor

Datasheet4U Logo
Since 2006. D4U Semicon. About Datasheet4U Contact Us Privacy Policy Purchase of parts