• Part: HT7590-1
  • Description: LOW DROPOUT LINEAR REGULATOR
  • Category: LDO Regulator
  • Manufacturer: WDJ semiconductor
  • Size: 10.26 MB
Download HT7590-1 Datasheet PDF
WDJ semiconductor
HT7590-1
HT7590-1 is LOW DROPOUT LINEAR REGULATOR manufactured by WDJ semiconductor.
- Part of the HT7525-1 comparator family.
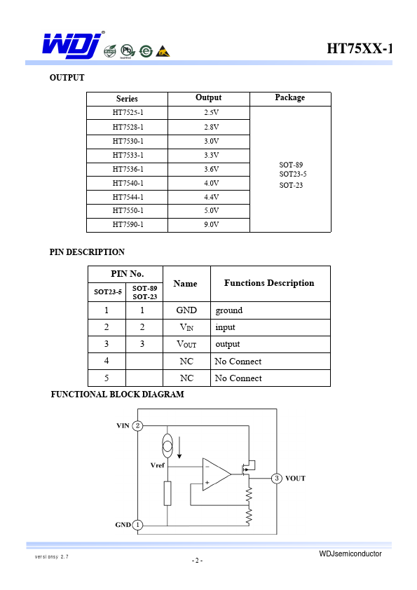
HT75XX-1 HT75XX-1 LOW DROPOUT LINEAR REGULATOR GENERAL DESCRIPTION HT75XX-1 series are a set of Low Dropout Linear Regulator ICs implemented in CMOS technology.They can withstand voltage 30V. And they are available with low voltage drop and low quiescent current,widely used in audio, video and munication appliances. Features - Low Power Consumption - Low Voltage Drop - Low Temperature Coefficient - Withstanding Voltage 30V - Quiescent Current 1.8μA - Output Voltage Accuracy: tolerance ±2% - High output current: 100m A TYPICAL APPLICATIONS - Battery-powered Equipments - munication Equipments - Audio/Video Equipments PIN CONFIGURATION SOT-89 WDJsemiconductor 1 23 GND VIN VOUT SOT23-5 NC NC WDJsemiconductor 1 23 GND VIN VOUT SOT-23 WDJsemiconductor VOUT versionsÿ 2.7 -1 - WDJsemiconductor HT75XX-1...