Datasheet4U Logo Datasheet4U.com

S-8240A Battery Protection

S-8240A Description

S-8240A Series www.ablic.com BATTERY PROTECTION IC FOR 1-CELL PACK © ABLIC Inc., 2015-2020 Rev.3.2_00 The S-8240A Series is a protection IC for l.

S-8240A Features

* High-accuracy voltage detection circuit Overcharge detection voltage 3.500 V to 4.600 V (5 mV step) Accuracy ±20 mV Overcharge release voltage 3.100 V to 4.600 V
* 1 Accuracy ±50 mV Overdischarge detection voltage 2.000 V to 3.400 V (10 mV step) Accuracy ±50 mV Overdischarge r

S-8240A Applications

* Lithium-ion rechargeable battery pack
* Lithium polymer rechargeable battery pack
* Packages
* SOT-23-6
* SNT-6A
* HSNT-6(1212) 1 BATTERY PROTECTION IC FOR 1-CELL PACK S-8240A Series
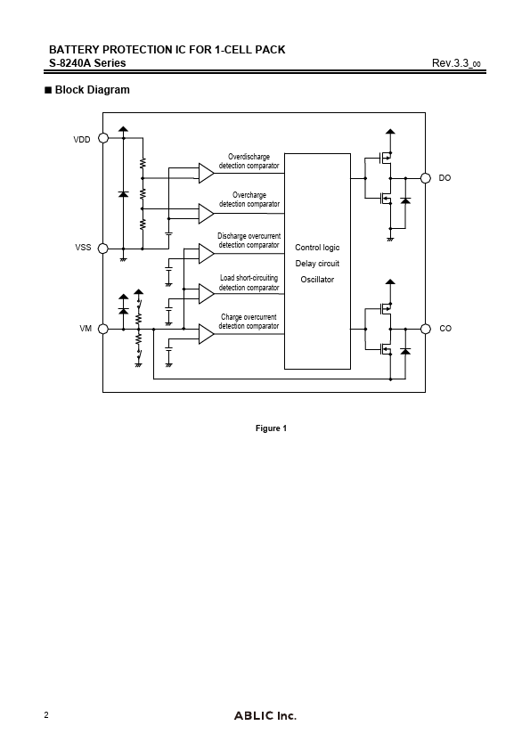
* Block Diagram VDD VSS VM Overdischarge detection comparator

📥 Download Datasheet

Preview of S-8240A PDF
datasheet Preview Page 2 datasheet Preview Page 3

Datasheet Details

Part number
S-8240A
Manufacturer
ABLIC
File Size
882.54 KB
Datasheet
S-8240A-ABLIC.pdf
Description
Battery Protection

📁 Related Datasheet

  • S-8241 - Battery Protection (Seiko Instruments)
  • S-8242 - BATTERY PROTECTION IC (Seiko Instruments)
  • S-8242B - BATTERY PROTECTION IC (Seiko Instruments)
  • S-8200A - BATTERY PROTECTION IC (Seiko Instruments)
  • S-8201 - Battery Protection IC (Seiko Instruments)
  • S-8204A - BATTERY PROTECTION IC (Seiko)
  • S-8204B - BATTERY PROTECTION IC (Seiko)
  • S-8205A - BATTERY PROTECTION (Seiko)

📌 All Tags

ABLIC S-8240A-like datasheet