Datasheet4U Logo Datasheet4U.com

TB62209F Stepping Motor Driver IC

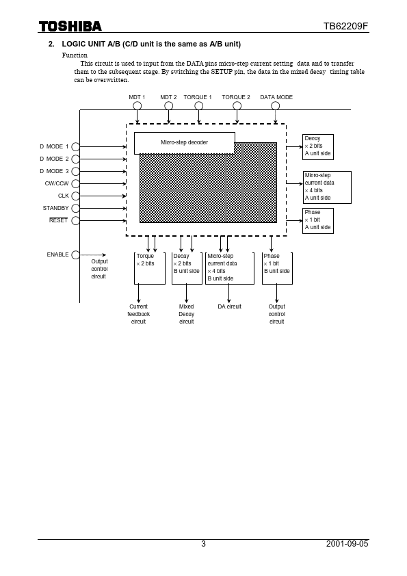
📥 Download Datasheet  Datasheet Preview Page 1

Description

TB62209F Preliminary TOSHIBA BiCD Processor IC Silicon Monolithic TB62209F Stepping Motor Driver IC Using PWM Chopper Type The TB62209F is a steppi.
1 Pin Number Symbol Function D MODE 3, 2, 1 = 1 D MODE 1 LLL: Same function as that of STANDBY pin LLH: Motor Lock mode LHL: 2-Phase Excitation mode 2.

📥 Download Datasheet

Preview of TB62209F PDF
datasheet Preview Page 2 datasheet Preview Page 3

Features

* Bipolar stepping motor can be controlled by a single driver IC Monolithic BiCD IC Low ON-resistance of Ron = 0.5 Ω (Tj = 25°C @1.0 A: typ. ) Built-in decoder and 4-bit DA converters

TB62209F Distributors

📁 Related Datasheet

  • TB62209FG - Stepping Motor Driver IC (Toshiba Semiconductor)
  • TB62201AFG - Dual-Stepping Motor Driver IC (Toshiba Semiconductor)
  • TB62202AFG - Dual-Stepping Motor Driver IC (Toshiba Semiconductor)
  • TB62206FG - BiCD PWM 2-Phase Bipolar Stepping Motor Driver (Toshiba Semiconductor)
  • TB62 - 6.0A Single-Phase Silicon Bridge Rectifier (TAITRON)
  • TB6219 - Stepper Motor Driver (Top-Best)

📌 All Tags

Toshiba TB62209F-like datasheet