Datasheet4U Logo Datasheet4U.com
ESMT (Elite Semiconductor Microelectronics Technology) logo

EHP8041 Datasheet

Manufacturer: ESMT (Elite Semiconductor Microelectronics Technology)
EHP8041 datasheet preview

Datasheet Details

Part number EHP8041
Datasheet EHP8041-ESMT.pdf
File Size 1.66 MB
Manufacturer ESMT (Elite Semiconductor Microelectronics Technology)
Description Ultralow Quiescent Current LDO
EHP8041 page 2 EHP8041 page 3

EHP8041 Overview

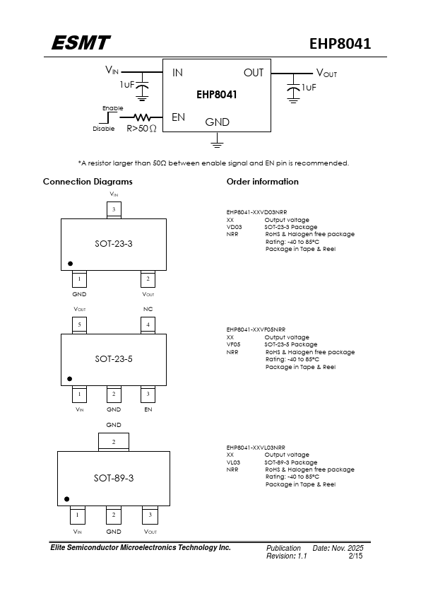
The EHP8041 is a high voltage, low quiescent current, low dropout regulator with 250mA output driving capacity. The EHP8041, which operates over an input range up to 40V, is stable with any capacitors, whose capacitance is larger than 1μF, and suitable for powering battery-management ICs because of the virtue of its low quiescent current consumption and low dropout voltage.

ESMT (Elite Semiconductor Microelectronics Technology) logo - Manufacturer

More Datasheets from ESMT (Elite Semiconductor Microelectronics Technology)

See all ESMT (Elite Semiconductor Microelectronics Technology) datasheets

Part Number Description
EHP8042 Ultralow Quiescent Current LDO
EHP8043 Ultralow Quiescent Current LDO
EHP8150 300mA Linear Regulator
EHP878L 30V 100mA Linear Regulator
EHP6388 High-Side Power Switch with Flag

EHP8041 Distributor

Datasheet4U Logo
Since 2006. D4U Semicon. About Datasheet4U Contact Us Privacy Policy Purchase of parts