• Part: ML7631
  • Description: Wireless charging transmitter LSI
  • Manufacturer: ROHM
  • Size: 363.28 KB
Download ML7631 Datasheet PDF
ROHM
ML7631
ML7631 is Wireless charging transmitter LSI manufactured by ROHM.
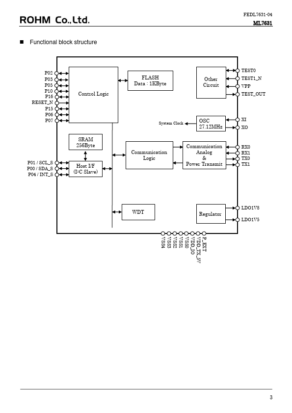
Overview The ML7631 is a wireless charging Tx LSI using 13.56MHz carrier frequency, which enables to feed 200m W wirelessly to an Rx device using the ML7630. The ML7631 controls wireless charging and data munication with the ML7630. ML7631 is equipped with function to detect the illegal situation such as disappearance of the Rx device. This is an ideal solution for small rechargeable devices such as headset, ear-pads and wearables. - Features - Power transmission control - Power transmission circuit embedded - Abnormaly detection by software control and hardware control(voltage and current monitoring) - munication control - mand generation function for ML7630 included - munication speed: 212kbps (13.56MHz/64) - 1kbyte data flash for storing some data contents - Host interface(I2C slave) - Normal mode(100kbit/s), Fast mode(400kbit/s) available - Each internal controller and external HOST microcontroller can access register function - General Port(PORT) - Input/Output port×11ch - Reset - Reset by RESET_N port - Power on reset by magnetic field detection - Reset by WDT overflow - Clock - Low speed clock : Built-in RC oscillation (32.768k Hz) for internal timer - High speed clock : Crystal osillation(27.12MHz) 6.78MHz is used inside - Package - WQFN 32 pin (P-WQFN32-0505-0.50) - Product name ML7631-103GD ML7631-106GD - Applications NFC charging devices, e.g. - smart wathes, fitness trackers and smart wristbands - smart rings - smart glasses - true wireless stereos and hearing aids - stylus pnes, wireless mouses and wireless keyboads - electric toothbrushes - beauty home appliances - personal health care devices - battery packs FEDL7631-04 ML7631 - Functional block structure FEDL7631-04...