• Part: BA00ASFP
  • Description: Regulator
  • Manufacturer: ROHM
  • Size: 123.93 KB
Download BA00ASFP Datasheet PDF
BA00ASFP page 2
Page 2
BA00ASFP page 3
Page 3

Datasheet Summary

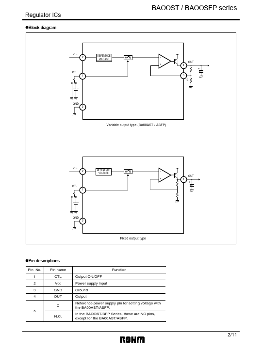
Regulator ICs BAΟΟST / BAΟΟSFP series Regulator, low drop-out type with ON/OFF switch BAΟΟST / BAΟΟSFP series The BAΟΟST and BAΟΟSFP series are variable, fixed output low drop-out type voltage regulators with an ON/OFF switch. These regulators are used to provide a stabilized output voltage from a fluctuating DC input voltage. Fixed output voltages are 3.3V, 5V, 6V(SFP), 7V, 8V, 9V, 10V(ST), 12V(ST). The maximum current capacity is 1 A for each of the above voltages. !Application Constant voltage power supply !Features 1) Built-in overvoltage protection circuit, overcurrent protection circuit and thermal shutdown circuit 2) TO220FP-5, TO252-5 standard packages can be acodated in...