Datasheet4U Logo Datasheet4U.com

MS5543 - 16-Bit DAC

Description

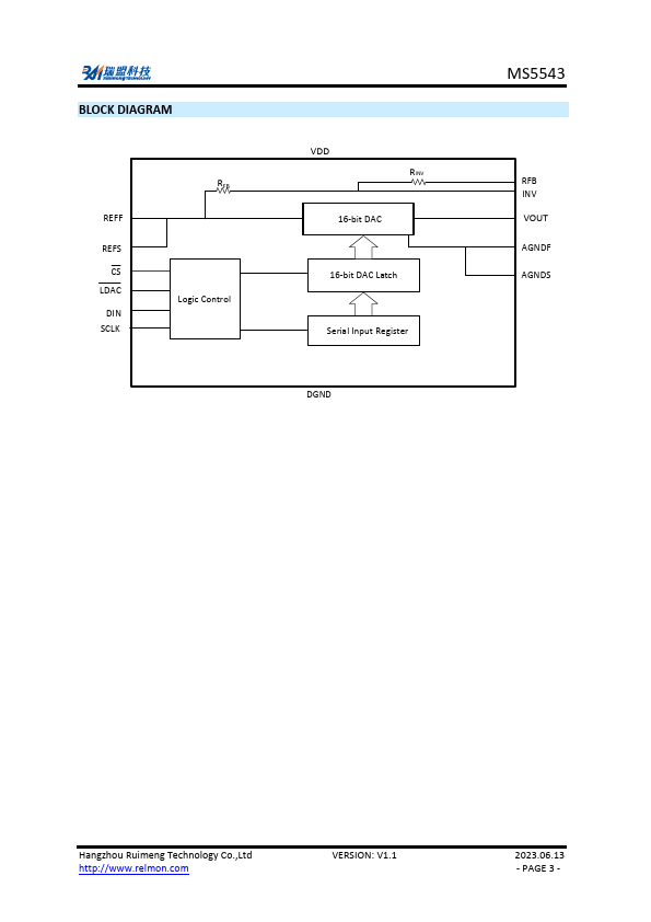
The MS5543 is a single-channel, 16-bit, serial input and voltage output digital-to-analog converter(DAC).

It operates from single power supply with 2.7V to 5.5V, and the output range is from 0V to VREF.

Within the output range, the monotonicity is ensured.

Features

  • including short setup time, low power dissipation and low offset error. In addition, due to the low noise and low glitch characteristics, the MS5543 is suitable for several terminal systems. The MS5543 could operate in bipolar mode and generate ±VREF output amplitude. It has Kelvin sense connection used for reference voltage and analog ground pin to reduce layout sensitivity.

📥 Download Datasheet

Datasheet preview – MS5543

Datasheet Details

Part number MS5543
Manufacturer Ruimeng
File Size 423.38 KB
Description 16-Bit DAC
Datasheet download datasheet MS5543 Datasheet
Additional preview pages of the MS5543 datasheet.
Other Datasheets by Ruimeng

Full PDF Text Transcription

Click to expand full text
MS5543 2.7V to 5.5V, Serial Input, Voltage Output, 16-Bit DAC PRODUCT DESCRIPTION The MS5543 is a single-channel, 16-bit, serial input and voltage output digital-to-analog converter(DAC). It operates from single power supply with 2.7V to 5.5V, and the output range is from 0V to VREF. Within the output range, the monotonicity is ensured. And it could provide 1LSB INL accuracy at 14-bit in the temperature range from -40°C to +85°C. The MS5543 provides unbuffered output and has many features, including short setup time, low power dissipation and low offset error. In addition, due to the low noise and low glitch characteristics, the MS5543 is suitable for several terminal systems. The MS5543 could operate in bipolar mode and generate ±VREF output amplitude.
Published: |