Datasheet4U Logo Datasheet4U.com

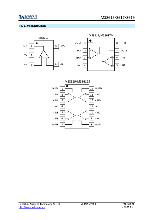
MS8613 - Rail-to-Rail Input and Output Operational Amplifier

Description

The MS8613/8617/8619 is featured by ultra power dissipation, rail-torail input and output, low input voltage and low current noise.

Features

  • Low Offset Voltage: 2.2mV (Max).
  • Low Input Bias Current: 1pA (Max).
  • Single Power Supply: 1.8V to 5V.
  • Low Noise: 24nV/√Hz.
  • Micro Power Dissipation (1.8V): 40uA (single amp).
  • No Phase Reversal.
  • Stable Unit Gain.

📥 Download Datasheet

Datasheet Details

Part number MS8613
Manufacturer Ruimeng
File Size 0.97 MB
Description Rail-to-Rail Input and Output Operational Amplifier
Datasheet download datasheet MS8613 Datasheet
Other Datasheets by Ruimeng

Full PDF Text Transcription

Click to expand full text
MS8613/8617/8619 Low Power Dissipation, Low Noise, CMOS, Rail-to-Rail Input and Output Operational Amplifier PRODUCT DESCRIPTION The MS8613/8617/8619 is featured by ultra power dissipation, rail-torail input and output, low input voltage and low current noise. The specific characteristics could be expressed as follows: The MS8613/8617/8619 can operates in single power supply from 1.8V to 5V or dual power supply; Low power dissipation and low noise feature make the MS8613/8617/8619 used in mobile devices; Rail-to-rail feature makes it used in the buffer of CMOS, ADCs, DACs, ASICs or the system with low power dissipation and wide output swing. FEATURES  Low Offset Voltage: 2.2mV (Max)  Low Input Bias Current: 1pA (Max)  Single Power Supply: 1.
Published: |