Datasheet Details
| Part number | MS8617 |
|---|---|
| Manufacturer | Ruimeng |
| File Size | 0.97 MB |
| Description | Rail-to-Rail Input and Output Operational Amplifier |
| Datasheet |
|
| Note |
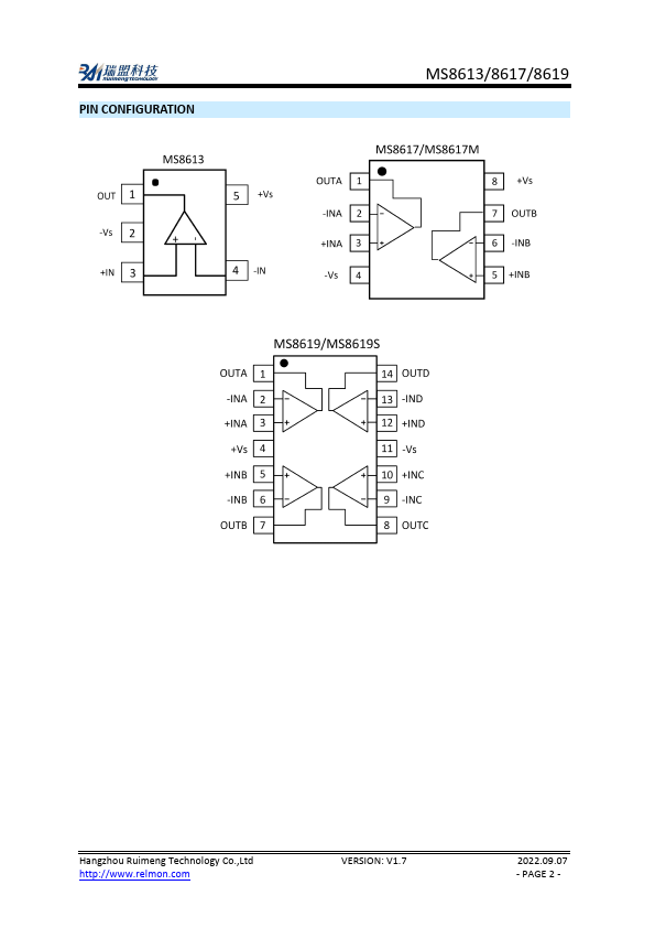
This datasheet PDF includes multiple part numbers: MS8617, MS8613. Please refer to the document for exact specifications by model. |
|
|
|

