• Part: SA52106
  • Description: Six Half -bridge Driver
  • Manufacturer: Silergy
  • Size: 896.85 KB
Download SA52106 Datasheet PDF
Silergy
SA52106
SA52106 is Six Half -bridge Driver manufactured by Silergy.
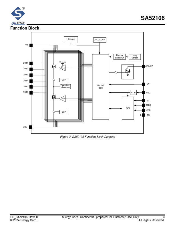
Six Half -bridge Driver with SPI Control General Description The SA52106 is a six half-bridge motor driver solution for automotive, industrial and other mechatronic applications. The half-bridges are fully controllable to achieve a forward, reverse, coasting and braking operation of motor. All the functions can be programmed through serial peripheral interface (SPI). The SA52106 provides internal shutdown functions with an n FAULT output pin to alert the system when a fault occurs. Such as over current protection, open load detection, under voltage lockout, over voltage lockout and thermal shutdown. The device is packaged in TSSOP-24 with exposed pad. Typical Application 5V GND n FAULT SI u C SCLK Features - 6 Half-bridge Outputs - 4.5V to 32V Operating Voltage - Up to 1A Output Current for Each Output - Low-power Sleep Mode - patible with 5V/3.3V System - Serial Peripheral Interface, up to 5MHz - Daisy Chain Functionality - PWM Capable Output for Frequency 80Hz, 100Hz, 200Hz and 2k Hz with 8-Bit Duty Cycle Resolution - Integrated Protection: Overcurrent Protection (OCP), Short Circuit Protection (SCP), Open Load Detection (OLD), Under Voltage Lockout (UVLO), Over Voltage Protection (OVP) and Thermal Shutdown (TSD) - n FAULT Pin Output - AEC-Q100 Qualified Applications - Automotive - HVAC - DC Brushed Motors - LED VS GND...