• Part: XC9287
  • Description: 1.5A Synchronous Step-Down DC/DC Converter
  • Manufacturer: Torex Semiconductor
  • Size: 1.98 MB
Download XC9287 Datasheet PDF
XC9287 page 2
Page 2
XC9287 page 3
Page 3

Datasheet Summary

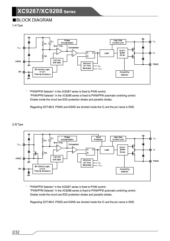
XC9287/XC9288 Series ETR05088-002b HiSAT-COT® Control, 1.5A Synchronous Step-Down DC/DC Converter ☆Green Operation patible - GENERAL DESCRIPTION The XC9287/XC9288 series are 1.5A synchronous step-down DC/DC converters with a built-in P-channel driver FET and Nchannel driver FET. The Output voltage is internally set in a range from 0.8V to 3.6V increments of 0.05V. Only an inductor and two capacitors were connected externally. Oscillation frequency is set to 1.2MHz or 3.0MHz can be selected for suiting to your particular application. HiSAT-COT is a proprietary high-speed transient response technology for DC/DC converter which was minimized output voltage during load fluctuations. It is...