Datasheet4U Logo Datasheet4U.com

EM6153 - 5V Automotive Regulator

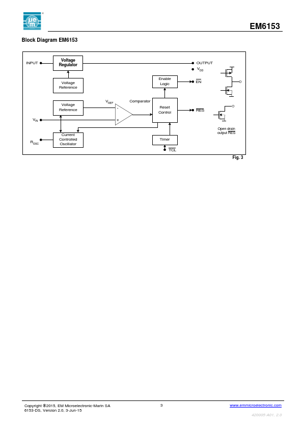
EM6153 Description

EM MICROELECTRONIC - MARIN SA EM6153 5V Automotive Regulator with Inhibit Input and Windowed Watchdog .
The EM6153 offers a high level of integration by combining voltage regulation, voltage monitoring and software monitoring using a windowed watchdog.

EM6153 Features

*  Low quiescent current 90 A  Very low OFF current consumption < 1uA  -40°C to +125°C temperature range  Highly accurate 5 V, 150 mA guaranteed output (actual maximum current depends on power dissipation)  Low dropout voltage, typically 250 mV at 100 mA  Unregulated DC input can withstand -42

EM6153 Applications

*  Automotive systems  Industrial  Home security systems  Telecom / Networking  Computers  Set top boxes Microprocessor Typical Operating Configuration Unregulated Voltage Inhibit 22uF + ROSC INPUT OUTPUT VDD EM6153 INH VIN ROSC TCL RES VSS EN + R1 100nF 10uF 5V VDD I/O RES I/O R2 GN

📥 Download Datasheet

Preview of EM6153 PDF
datasheet Preview Page 2 datasheet Preview Page 3

Datasheet Details

Part number
EM6153
Manufacturer
EM Microelectronic
File Size
513.28 KB
Datasheet
EM6153_EMMicroelectronic.pdf
Description
5V Automotive Regulator

📁 Related Datasheet

  • EM6156K1600V - 256K x 16 LP SRAM (Eorex Corporation)
  • EM6156K600V - 256Kx16 LP SRAM (Eorex Corporation)
  • EM61000 - 8-Channel Wave-Table Music Synthesizer (ELAN Microelectronics)
  • EM61001 - 8-Channel Wave-Table Music Synthesizer (ELAN Microelectronics)
  • EM61002 - 8-Channel Wave-Table Music Synthesizer (ELAN Microelectronics)
  • EM610FV16 - 64K x 16 SRAM (Emerging Memory & Logic Solutions)
  • EM610FV8 - 128K x8 bit Super Low Power and Low Voltage Full CMOS Static RAM (Emerging Memory & Logic Solutions)
  • EM610FV8S - 128K x8 bit Super Low Power and Low Voltage Full CMOS Static RAM (Emerging Memory & Logic Solutions)

📌 All Tags

EM Microelectronic EM6153-like datasheet