Datasheet4U Logo Datasheet4U.com

EM6156 5V 120mA Automotive LDO Regulator

📥 Download Datasheet  Datasheet Preview Page 1

Description

R EM MICROELECTRONIC - MARIN SA EM6156 5V 120mA Automotive LDO Regulator with Watchdog .
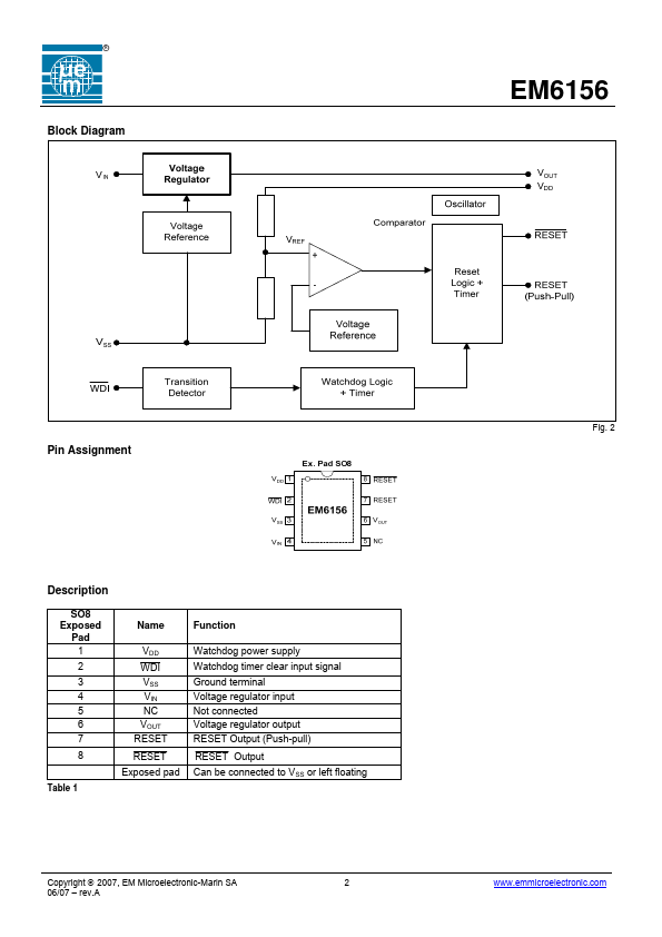
The EM6156 offers a high level of integration by combining voltage regulation, voltage monitoring and software monitoring using a watchdog.

📥 Download Datasheet

Preview of EM6156 PDF
datasheet Preview Page 2 datasheet Preview Page 3

Datasheet Specifications

Part number
EM6156
Manufacturer
EM Microelectronic
File Size
472.47 KB
Datasheet
EM6156-EMMicroelectronic.pdf
Description
5V 120mA Automotive LDO Regulator

Features

* -40°C to +125°C temperature range
* Highly accurate 5 V, 120 mA guaranteed output (actual maximum current depends on power dissipation)
* Output voltage tolerance

Applications

* Automotive systems
* Industrial
* Home security systems Fig. 1 Copyright © 2007, EM Microelectronic-Marin SA 1 06/07

EM6156 Distributors

📁 Related Datasheet

  • EM6156K1600V - 256K x 16 LP SRAM (Eorex Corporation)
  • EM6156K600V - 256Kx16 LP SRAM (Eorex Corporation)
  • EM61000 - 8-Channel Wave-Table Music Synthesizer (ELAN Microelectronics)
  • EM61001 - 8-Channel Wave-Table Music Synthesizer (ELAN Microelectronics)
  • EM61002 - 8-Channel Wave-Table Music Synthesizer (ELAN Microelectronics)
  • EM610FV16 - 64K x 16 SRAM (Emerging Memory & Logic Solutions)

📌 All Tags

EM Microelectronic EM6156-like datasheet