Datasheet4U Logo Datasheet4U.com

EC25C256 - 256Kbits SPI Serial EEPROM

General Description

The EC25C256 is an industrial standard electrically erasable programmable read only memory (EEPROM) Product that utilizes standard Serial Peripheral Interface (SPI) for communications.

The EC25C256 contains a memory array of 256K bits (32,768x 8), which is organized in 64 bytes per page.

Key Features

  • Serial Peripheral Interface (SPI) Compatible.
  • Supports Mode 0 (0,0) and Mode 3 (1,1).
  • Wide-voltage Operation.
  • VCC = 1.7V to 5.5V.
  • Low power CMOS.
  • Standby current: ≤1 μA (1.7V).
  • Operating current: ≤2 mA (1.7V).
  • Operating frequency: 20 MHz (5.5V).
  • Memory organization: 256Kb (32,768 x 8).
  • Byte and Page write (up to 64 bytes).
  • Partial page write allowed.
  • Block Write Protection.
  • Protect 1/4, 1/2, or Entire Array.
  • Sel.

📥 Download Datasheet

Datasheet Details

Part number EC25C256
Manufacturer E-CMOS
File Size 695.10 KB
Description 256Kbits SPI Serial EEPROM
Datasheet download datasheet EC25C256 Datasheet

Full PDF Text Transcription (Reference)

The following content is an automatically extracted verbatim text from the original manufacturer datasheet and is provided for reference purposes only.

View original datasheet text
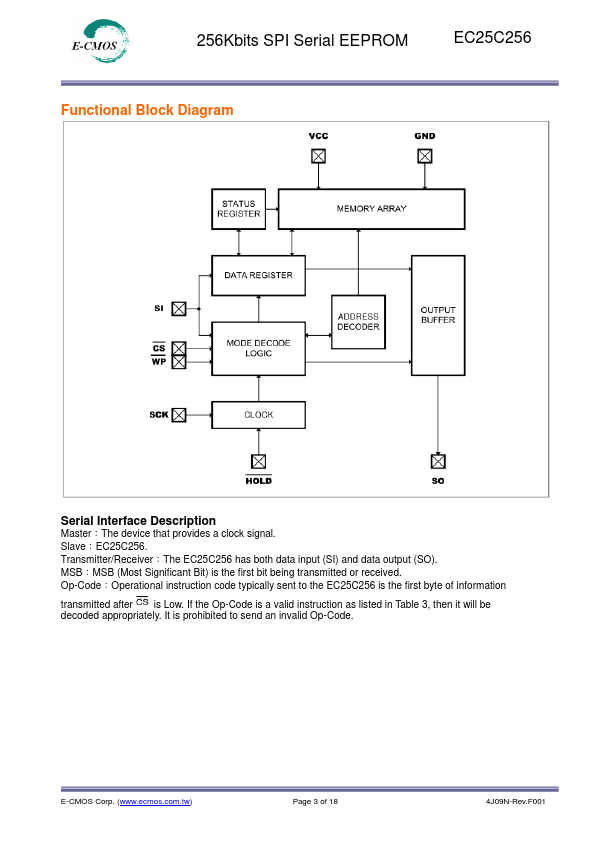
256Kbits SPI Serial EEPROM EC25C256 General Description The EC25C256 is an industrial standard electrically erasable programmable read only memory (EEPROM) Product that utilizes standard Serial Peripheral Interface (SPI) for communications. The EC25C256 contains a memory array of 256K bits (32,768x 8), which is organized in 64 bytes per page. This EEPROM operates in a wide voltage range from 1.7V to 5.5V,which fits most application. The device provides low-power operations and low standby current. The product is offered in Lead-free, RoHS, halogen free or Green package. The available package types are 8-pin SOP, TSSOP and UDFN.