Datasheet4U Logo Datasheet4U.com

EC25C32 - 32Kbits SPI Serial EEPROM

General Description

Peripheral Interface (SPI) for communications.

page.

Key Features

  • Serial Peripheral Interface (SPI) Compatible.
  • Supports Mode 0 (0,0) and Mode 3 (1,1).
  • Wide-voltage Operation.
  • VCC = 1.7V to 5.5V.
  • Low power CMOS.
  • Standby current: ≤1 μA (1.7V).
  • Operating current: ≤1 mA (1.7V).
  • Operating frequency: 20 MHz (5.5V).
  • Memory organization: 32Kb (4,096 x 8).
  • Byte and Page write (up to 32 bytes).
  • Partial page write allowed.
  • Block Write Protection.
  • Protect 1/4, 1/2, or Entire Array.
  • Self.

📥 Download Datasheet

Datasheet Details

Part number EC25C32
Manufacturer E-CMOS
File Size 563.06 KB
Description 32Kbits SPI Serial EEPROM
Datasheet download datasheet EC25C32 Datasheet

Full PDF Text Transcription (Reference)

The following content is an automatically extracted verbatim text from the original manufacturer datasheet and is provided for reference purposes only.

View original datasheet text
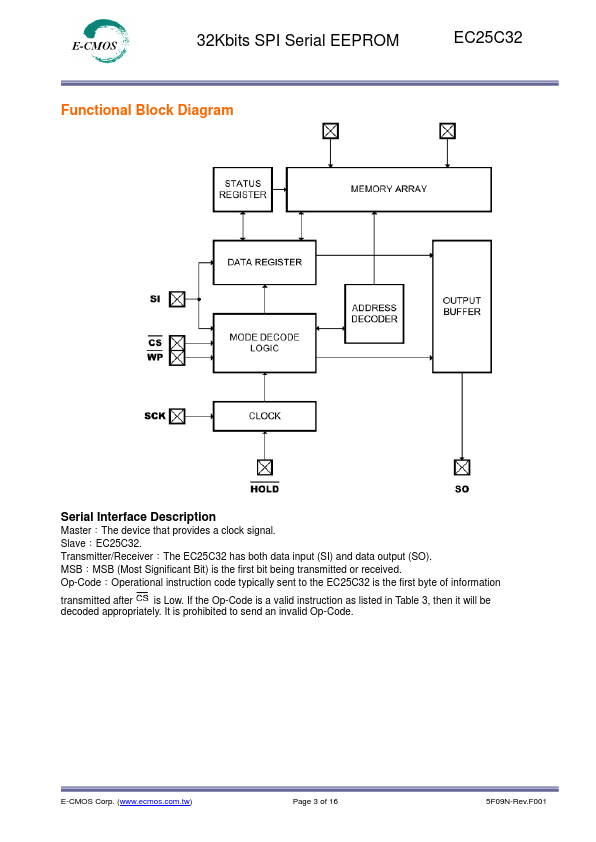
32Kbits SPI Serial EEPROM EC25C32 General Description The EC25C32 is an industrial standard electrically erasable programmable read only memory (EEPROM) Product that utilizes standard Serial Peripheral Interface (SPI) for communications. The EC25C32 contains a memory array of 32K bits (4,096x 8), which is organized in 32 bytes per page. This EEPROM operates in a wide voltage range from 1.7V to 5.5V,which fits most application. The device provides low-power operations and low standby current. The product is offered in Lead-free, RoHS, halogen free or Green package. The available package types are 8-pin SOP, TSSOP and UDFN.