Datasheet4U Logo Datasheet4U.com
ESMT (Elite Semiconductor Microelectronics Technology) logo

M14D5121632A-2.5BG2S

Manufacturer: ESMT (Elite Semiconductor Microelectronics Technology)

M14D5121632A-2.5BG2S datasheet by ESMT (Elite Semiconductor Microelectronics Technology).

M14D5121632A-2.5BG2S datasheet preview

M14D5121632A-2.5BG2S Datasheet Details

Part number M14D5121632A-2.5BG2S
Datasheet M14D5121632A-2.5BG2S M14D5121632A-1.5BG2S Datasheet (PDF)
File Size 1.72 MB
Manufacturer ESMT (Elite Semiconductor Microelectronics Technology)
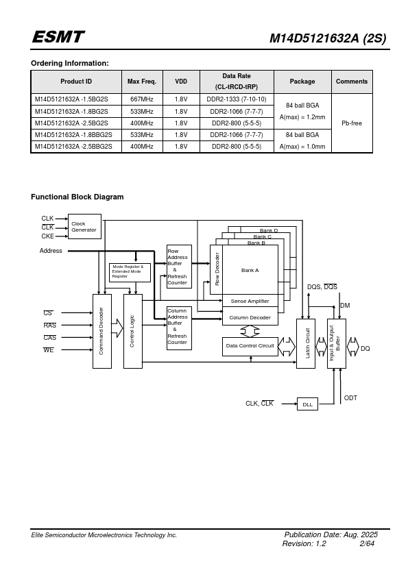
Description 8M x 16 Bit x 4 Banks DDR II SDRAM
M14D5121632A-2.5BG2S page 2 M14D5121632A-2.5BG2S page 3

M14D5121632A-2.5BG2S Overview

ESMT M14D5121632A (2S) DDR II SDRAM 8M x 16 Bit x 4 Banks DDR II SDRAM.

M14D5121632A-2.5BG2S Key Features

  • JEDEC Standard
  • VDD = 1.8V ± 0.1V, VDDQ = 1.8V ± 0.1V
  • Internal pipelined double-data-rate architecture; two data access per clock cycle
  • Bi-directional differential data strobe (DQS, DQS ); DQS can be disabled for single-ended data strobe operation
  • On-chip DLL
  • Differential clock inputs (CLK and CLK )
  • DLL aligns DQ and DQS transition with CLK transition
  • Quad bank operation
  • CAS Latency : 3, 4, 5, 6, 7, 8, 9
  • Additive Latency: 0, 1, 2, 3, 4, 5, 6, 7
ESMT (Elite Semiconductor Microelectronics Technology) logo - Manufacturer

More Datasheets from ESMT (Elite Semiconductor Microelectronics Technology)

View all ESMT (Elite Semiconductor Microelectronics Technology) datasheets

Part Number Description
M14D5121632A-2.5BG2A DDR-II SDRAM
M14D5121632A-2.5BG2M 8M x 16 Bit x 4 Banks DDR II SDRAM
M14D5121632A-2.5BBG2A DDR-II SDRAM
M14D5121632A-2.5BBG2M 8M x 16 Bit x 4 Banks DDR II SDRAM
M14D5121632A-2.5BBG2S 8M x 16 Bit x 4 Banks DDR II SDRAM
M14D5121632A-1.5BG2A DDR-II SDRAM
M14D5121632A-1.5BG2M 8M x 16 Bit x 4 Banks DDR II SDRAM
M14D5121632A-1.5BG2S 8M x 16 Bit x 4 Banks DDR II SDRAM
M14D5121632A-1.8BBG2A DDR-II SDRAM
M14D5121632A-1.8BBG2M 8M x 16 Bit x 4 Banks DDR II SDRAM

M14D5121632A-2.5BG2S Distributor

Datasheet4U Logo
Since 2006. D4U Semicon. About Datasheet4U Contact Us Privacy Policy Purchase of parts