Datasheet4U Logo Datasheet4U.com

CH541 - USB MCU

Features

  • l Core: Enhanced E8051 core, compatible with MCS51 instruction set, 79% of instructions are single-byte single-cycle instructions, and the average command speed is 8 to 15 times faster than that of the standard MCS51. Special XRAM data fast copy instruction, and double DPTR pointers. l ROM: 16KB nonvolatile memory Flash-ROM which supoorts 10K times of erase/write operations. All can be used for the program address space. Or it can be divided into a 14KB program address space, a 256B data address.

📥 Download Datasheet

Datasheet preview – CH541

Datasheet Details

Part number CH541
Manufacturer Unknown Manufacturer
File Size 919.83 KB
Description USB MCU
Datasheet download datasheet CH541 Datasheet
Additional preview pages of the CH541 datasheet.
Other Datasheets by ETC

Full PDF Text Transcription

Click to expand full text
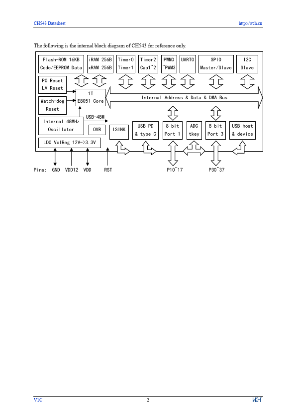
CH543 Datasheet http://wch.cn USB PD MCU CH543/CH542, USB MCU CH541/CH540 Datasheet Version: 1C http://wch.cn 1. Overview CH543 is a USB and USB PD enhanced E8051 core MCU compatible with MCS51 instruction set. 79% of its instructions are single-byte single-cycle instructions, and the average instruction speed is 8 to 15 times faster than that of the standard MCS51. CH543 supports up to 48 MHz system clock frequency, with built-in 16 K Flash-ROM, 256-byte internal iRAM and 256-byte on-chip xRAM. xRAM supports direct memory access (DMA). CH543 provides a built-in USB Power Delivery controller and PD BMC PHY transceiver. CH543 supports USB type C, BC, PD2.0, and PD3.0, and supports 12V high-voltage power. It can act as PMIC used for power management, Sink, Source and DRP.
Published: |