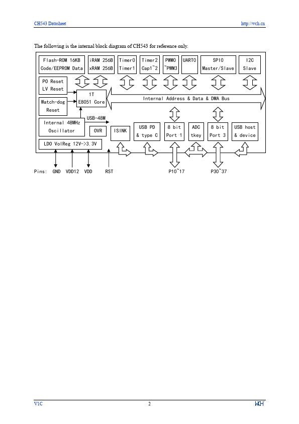
Datasheet Details
| Part number | CH543 |
|---|---|
| Manufacturer | ETC |
| File Size | 919.83 KB |
| Description | USB PD MCU |
| Datasheet |
|
| Note |
This datasheet PDF includes multiple part numbers: CH543, CH541. Please refer to the document for exact specifications by model. |
|
|
|

