• Part: ML5233
  • Description: Cell Li-ion Rechargeable Battery Protection IC
  • Manufacturer: LAPIS
  • Size: 671.30 KB
Download ML5233 Datasheet PDF
LAPIS
ML5233
ML5233 is Cell Li-ion Rechargeable Battery Protection IC manufactured by LAPIS.
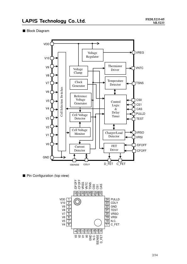
Description The ML5233 is a protection IC for the 4- to 10-cell Li-ion rechargeable battery pack. It detects individual cell overvoltage/undervoltage and the pack overcurrent/over-temperature, and then automatically turns on or turns off the external charge/discharge NMOS-FETs accordingly. Also the ML5233 can be cascaded to handle battery packs with more than 10 cells. - Features - 4 to 10 cell high-precision overvoltage and undervoltage detection function Voltage monitoring function for individual cells Overvoltage detection threshold 4.25 V, Detection accuracy: ±15 m V (max) Undervoltage detection threshold 2.7 V, Detection accuracy: ±50 m V (max) - Overcurrent detection function Discharge overcurrent detection threshold Charge overcurrent detection threshold 150 m V, Detection accuracy: ±10 m V (max) -40 m V, Detection accuracy: ±15 m V (max) - Short circuit detection function Short circuit detection threshold 300 m V, Detection delays adjustable using an external capacitor Detection accuracy: ±15 m V (max) - Temperature detection function : With external NTC (10 k, B=3435) and 4.7 k resistor Discharge inhibition temperature: 75 °C or higher Charge inhibition temperature : 55 °C or higher - External charge/discharge FET control: NMOS-FET gate driver built-in External shut down mand is accepted on the /CFOFF and /DFOFF pins In a cascade configuration external circuits can be minimized with the power-up control pin VRSO - Cell number selectable from predefined 4 values using the CS0 and CS1 pins Product code 001 supports 7, 8, 9 or 10-cell connectivity Cell numbers and other parameters can be redefined and supplied as an individual product code - Low current consumption Normal operation state : 25 µA (typ.), 60 µA (max) Power-down state : 0.1 µA (typ.), 1 µA (max) - Supply voltage : +5 V to +60 V - Operating temperature : -40°C to +85°C - Package : 32-pin LQFP - Application - Power tools and Garden tools - Cordless Cleaner - E-Bike and Electric...