• Part: ML5245
  • Description: Cell Rechargeable Battery Protection IC
  • Manufacturer: LAPIS
  • Size: 901.35 KB
Download ML5245 Datasheet PDF
LAPIS
ML5245
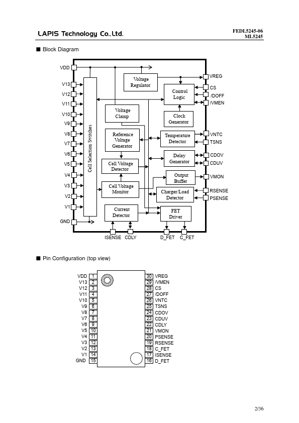
ML5245 is Cell Rechargeable Battery Protection IC manufactured by LAPIS.
Description The ML5245 is a protection IC for 5- to13-cell Li-ion rechargeable battery pack. It detects individual cell overvoltage/undervoltage and pack overcurrent/over-temperature, and then automatically turns on or turns off the external charge/discharge NMOS-FETs accordingly. Also, the ML5245 has a cell voltage monitor function so that the individual cell voltage can be monitored by an external microcontroller. - Features - Number of connected cells : 10-cell / 13-cell - Highly accurate overvoltage / undervoltege detection function Overvoltage detection accuracy : ±15m V(25℃) Undervoltage detection accuracy : ±50m V(25℃) - Charge / discharge overcurrent detection function Dischrage overcurrent detection accuracy : ±10m V(25℃) Charge overcurrent detection accuracy : ±10m V(25℃) - Short current detection function Short current detection accuracy : ±15m V(25℃) - Adjustable detection delay time for overvoltage / undervoltage / short current with external capacitor - Temperature detection function : with external NTC(10kΩ, B=3435) and 4.7kΩ resistor. Discharge inhibition temperature : 75℃ or higher Charge inhibition temperature : 55℃ or higher, -5℃ or lower - Cell voltage monitor function : Cell voltage multiplied by 0.5 is outputted from VMON pin - FET overheat protection function : stop large charge/discharge current through FET body-diode and protect this IC from overheat. - Number of connected cells, each detection voltage, each detectin delay time is selected with mask-option (Code number) - Low power consumption Normal state : 25μA(typ), 60μA(max) Power down state : 0.1μA(typ),1μA(max) - Supply voltage : +7V to +80V - Operating temperature : -40℃ to +85℃ - Package : 30pin SSOP - Application - Power tools and Garden tools - Cordless Cleaner - E-Bike and Electric assisted bicycle - Uninterruptible Power Supplies (UPS) - Energy Storage Systems (ESS) - Part number ML5245-xxx MB (xxx: code number) The detection voltage, etc., depends on the...