Datasheet Details
| Part number | SSD1306B |
|---|---|
| Manufacturer | Solomon Systech |
| File Size | 1.03 MB |
| Description | OLED/PLED Segment/Common Driver |
| Datasheet | SSD1306B-SolomonSystech.pdf |
|
|
|
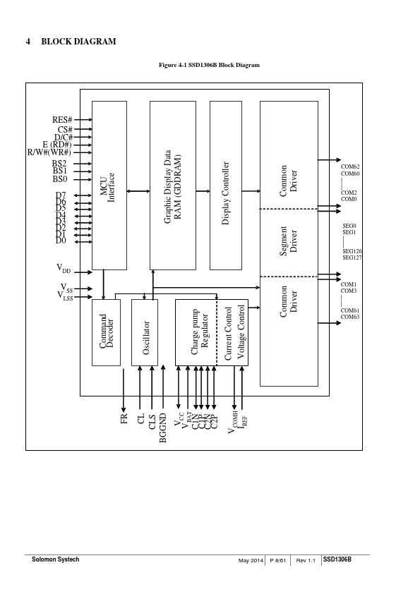
Overview: SSD1306B Advance Information 128 x 64 Dot Matrix OLED/PLED Segment/Common Driver with Controller This document contains information on a new product. Specifications and information herein are subject to change without notice. http://www.solomon-systech.com SSD1306B Rev 1.1 P 1/61 May 2014 Copyright 2014 Solomon Systech Limited Appendix: IC Revision history of SSD1306B Specification Version 1.0 1st release Change Items 1.1 Revise typo in Bump die pad coordinate Effective Date 10-Oct-12 04-Jun-14 Solomon Systech May 2014 P 2/61 Rev 1.
| Part number | SSD1306B |
|---|---|
| Manufacturer | Solomon Systech |
| File Size | 1.03 MB |
| Description | OLED/PLED Segment/Common Driver |
| Datasheet | SSD1306B-SolomonSystech.pdf |
|
|
|
.......................................................................................................7 2
| Part Number | Description |
|---|---|
| SSD1306 | 128 x 64 Dot Matrix OLED/PLED Segment/Common Driver |
| SSD1301 | OLED/PLED segment / common driver |
| SSD1305 | OLED/PLED Segment/Common Driver |
| SSD1307 | 128 x 39 Dot Matrix OLED/PLED Segment/Common Driver |
| SSD1308 | 128 x 64 Dot Matrix OLED/PLED Segment/Common Driver |
| SSD1309 | OLED/PLED Segment/Common Driver |
| SSD1311 | OLED/PLED Segment/Common Driver |
| SSD1312 | OLED/PLED Segment/Common Driver |
| SSD1315 | 128 x 64 Dot Matrix OLED/PLED Segment/Common Driver |
| SSD1316 | OLED/PLED Segment/Common Driver |