• Part: HDSP-511E
  • Description: General-Purpose SevenSegment Display
  • Manufacturer: Broadcom
  • Size: 557.41 KB
Download HDSP-511E Datasheet PDF
Broadcom
HDSP-511E
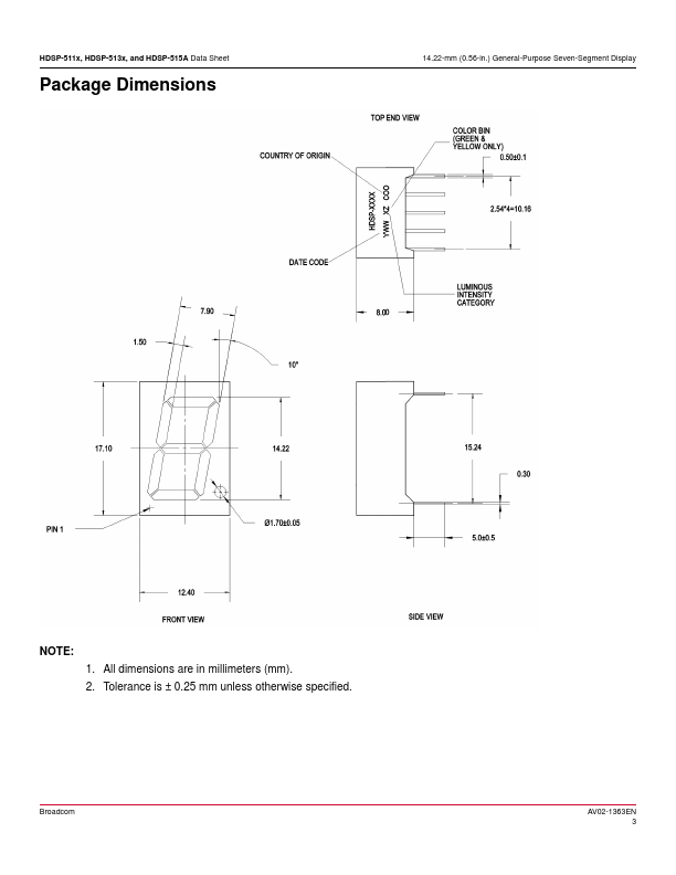
Description This 14.22-mm (0.56-in.) LED seven-segment display uses industry-standard size package and pinout. The device is available in either mon anode or mon cathode. The choice of colors includes High Efficiency Red (HER), Green, Al Ga As Red, and Yellow. The displays are suitable for indoor use. Applications - Suitable for indoor use - Not remended for industrial application, that is, operating temperature requirements exceeding +85°C or below - 25°C (for additional details, contact your local Broad® sales office or an authorized distributor) - Extreme temperature cycling not remended Features - Industry standard size - Industry standard pinout 14.22-mm (0.56-in.) DIP lead on 2.54 mm - Choice of colors High Efficiency Red (HER), Green, Al Ga As Red, and Yellow - Excellent appearance Evenly lighted segments package gives optimum contrast ± 50° viewing angle - Design flexibility mon anode or mon cathode Single digit Right-hand decimal point - Categorized for luminous intensity Green...