Datasheet4U Logo Datasheet4U.com
Broadcom logo

HDSP-511G

Manufacturer: Broadcom

HDSP-511G datasheet by Broadcom.

This datasheet includes multiple variants, all published together in a single manufacturer document.

HDSP-511G datasheet preview

HDSP-511G Datasheet Details

Part number HDSP-511G
Datasheet HDSP-511G HDSP-511E Datasheet (PDF)
File Size 557.41 KB
Manufacturer Broadcom
Description General-Purpose SevenSegment Display
HDSP-511G page 2 HDSP-511G page 3

HDSP-511G Overview

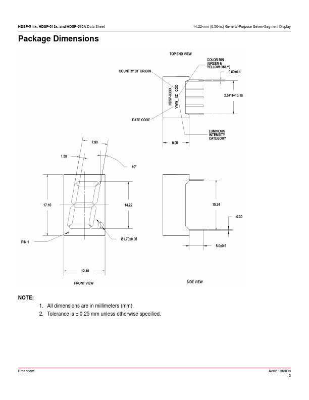
This 14.22-mm (0.56-in.) LED seven-segment display uses industry-standard size package and pinout. The device is available in either mon anode or mon cathode. The choice of colors includes High Efficiency Red (HER), Green, AlGaAs Red, and Yellow.

HDSP-511G Key Features

  • Industry standard size
  • Industry standard pinout
  • Choice of colors
  • Excellent appearance Evenly lighted segments package gives optimum contrast ± 50° viewing angle
  • Design flexibility mon anode or mon cathode Single digit Right-hand decimal point
  • Categorized for luminous intensity Green and yellow categorized for color
  • Green HDSP-511G HDSP-513G
  • AlGaAs Red HDSP-511A HDSP-513A HDSP-515A
  • Description mon Anode, Gray Surface, Right-Hand Decimal mon Cathode, Gray Surface, Right-Hand Decimal mon Cathode, Black
  • x1 x2 x3 x4

HDSP-511G Applications

  • Suitable for indoor use
  • Not remended for industrial application, that is
Broadcom logo - Manufacturer

More Datasheets from Broadcom

View all Broadcom datasheets

Part Number Description
HDSP-511A General-Purpose SevenSegment Display
HDSP-511E General-Purpose SevenSegment Display
HDSP-511Y General-Purpose SevenSegment Display
HDSP-513A General-Purpose SevenSegment Display
HDSP-513E General-Purpose SevenSegment Display
HDSP-513G General-Purpose SevenSegment Display
HDSP-513Y General-Purpose SevenSegment Display
HDSP-515A General-Purpose SevenSegment Display
HDSP-2107 Alphanumeric Displays
HDSP-2110 Alphanumeric Displays

HDSP-511G Distributor

Datasheet4U Logo
Since 2006. D4U Semicon. About Datasheet4U Contact Us Privacy Policy Purchase of parts