Datasheet4U Logo Datasheet4U.com

EC24C512T - 512K EEPROM

Description

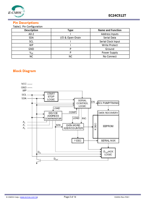
The EC24C512T provides 524,28 bits of serial electrically erasable and programmable read only memory (EEPROM)) organized as 65,536 words of 8bits each.

Features

  • Low-voltage Operation -- 1.8 (VCC = 1.8V to 5.5V).
  • Operating Ambient Temperature: -40°C to +85°C.
  • Internally Organized 65,536 X 8 (512K).
  • Two-wire Serial Inter.
  • Schmitt Trigger, Filtered Inputs for Noise Suppression.
  • Bidirectional Data Transfer Protocol.
  • 1MHZ(5V),400 kHz (1.8V, 2.5V, 2.7V) Compatibility.
  • Write Protect Pin for Hardware Data Protection.
  • 128-byte Page (512K) Write Modes.
  • Partial Page Writes Allowed.
  • Self-timed Write Cycle (5 m.

📥 Download Datasheet

Datasheet preview – EC24C512T

Datasheet Details

Part number EC24C512T
Manufacturer E-CMOS
File Size 1.07 MB
Description 512K EEPROM
Datasheet download datasheet EC24C512T Datasheet
Additional preview pages of the EC24C512T datasheet.
Other Datasheets by E-CMOS

Full PDF Text Transcription

Click to expand full text
Features  Low-voltage Operation -- 1.8 (VCC = 1.8V to 5.5V)  Operating Ambient Temperature: -40°C to +85°C  Internally Organized 65,536 X 8 (512K)  Two-wire Serial Inter  Schmitt Trigger, Filtered Inputs for Noise Suppression  Bidirectional Data Transfer Protocol  1MHZ(5V),400 kHz (1.8V, 2.5V, 2.7V) Compatibility  Write Protect Pin for Hardware Data Protection  128-byte Page (512K) Write Modes  Partial Page Writes Allowed  Self-timed Write Cycle (5 ms max)  High-reliability -- Endurance: 1 Million Write Cycles -- Data Retention: 100 Years  8-lead PDIP, 8-lead JEDEC SOIC and 8-lead TSSOP Packages EC24C512T General Description The EC24C512T provides 524,28 bits of serial electrically erasable and programmable read only memory (EEPROM)) organized as 65,536 words of 8bits each.
Published: |