• Part: SSD1308
  • Description: 128 x 64 Dot Matrix OLED/PLED Segment/Common Driver
  • Manufacturer: Solomon Systech
  • Size: 750.92 KB
Download SSD1308 Datasheet PDF
Solomon Systech
SSD1308
SSD1308 is 128 x 64 Dot Matrix OLED/PLED Segment/Common Driver manufactured by Solomon Systech.
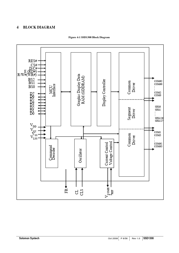
DESCRIPTION SSD1308 is a single-chip CMOS OLED/PLED driver with controller for organic / polymer light emitting diode dot-matrix graphic display system. It consists of 128 segments and 64mons. This IC is designed for mon Cathode type OLED panel. The SSD1308 embeds with contrast control, display RAM and oscillator, which reduces the number of external ponents and power consumption. It has 256-step brightness control. Data/mands are sent from general MCU through the hardware selectable 6800/8080 series patible Parallel Interface, I2C interface or Serial Peripheral Interface. It is suitable for many pact portable applications, such as mobile phone sub-display, MP3 player and calculator, etc. 2 FEATURES - Resolution: 128 x 64 dot matrix panel - Power supply o VDD = 1.65V to 3.3V for IC logic o VCC = 7V to 15V for Panel driving - For matrix display o OLED driving output voltage, 15V maximum o Segment maximum source current: 150u A o mon maximum sink current: 20m A - 256 step contrast brightness current control - Internal / External IREF Selection - Embedded 128 x 64 bit SRAM display buffer - Pin selectable MCU Interfaces: o 8-bit 6800/8080-series parallel interface o 3 /4 wire Serial Peripheral Interface o I2C Interface - Screen saving continuous scrolling function in both horizontal and vertical direction - RAM write synchronization signal - Programmable Frame Rate and Multiplexing Ratio - Row Re-mapping and Column Re-mapping - On-Chip Oscillator - Chip layout for COG & COF - Wide range of operating temperature: -40°C to 85°C 3 ORDERING INFORMATION Table 3-1: Ordering Information Ordering Part Number SEG SSD1308Z Package Form Reference Remark COG 9, 55 o Min SEG pad pitch : 47um o Min pad pitch : 40um o Die thickness: 300 +/- 15um Rev 1.0 P 7/56 Oct 2008 Solomon Systech 4 BLOCK DIAGRAM Figure 4-1 SSD1308 Block Diagram Display Controller Graphic Display Data RAM (GDDRAM) MCU Interface RES# CS# D/C# E (RD#) R/W#(WR#) BS2 BS1 BS0 D7 D6 D5...