CXT5551 Overview
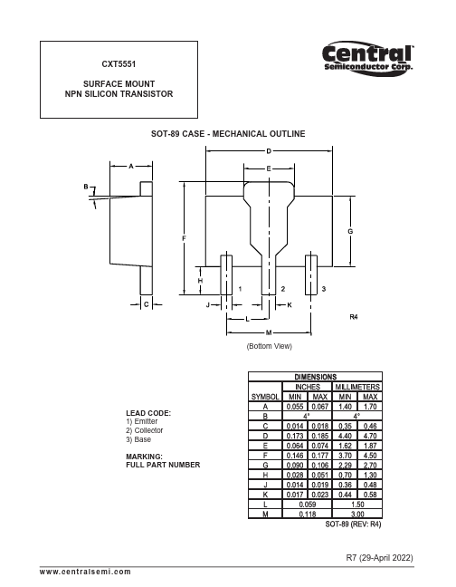
The CENTRAL SEMICONDUCTOR CXT5551 type is an NPN silicon transistor manufactured by the epitaxial planar process, epoxy molded in a surface mount package, designed for high voltage amplifier applications. FULL PART NUMBER SOT-89 CASE MAXIMUM RATINGS: (TA=25°C) Collector-Base Voltage Collector-Emitter Voltage Emitter-Base Voltage Continuous Collector Current Power Dissipation Operating and Storage Junction...




