Datasheet4U Logo Datasheet4U.com

NCV7351 High Speed CAN Transceiver

📥 Download Datasheet  Datasheet Preview Page 1

Description

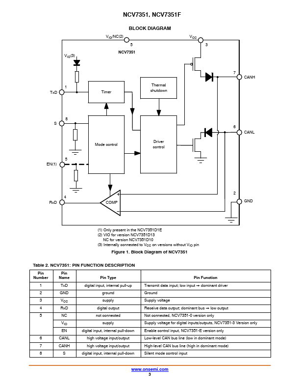
NCV7351, NCV7351F High Speed CAN, CAN FD Transceiver The NCV7351 CAN transceiver is the interface between a controller area network (CAN) protocol co.

📥 Download Datasheet

Preview of NCV7351 PDF
datasheet Preview Page 2 datasheet Preview Page 3

Features

* the NCV7351 is able to reach outstanding levels of electromagnetic susceptibility (EMS). Similarly, extremely low electromagnetic emission (EME) is achieved by the excellent matching of the outpu

NCV7351 Distributors

📁 Related Datasheet

  • NCV7383 - Transceiver (ON Semiconducto)
  • NCV70628 - Micro-stepping Motor Driver (onsemi)
  • NCV7410 - Automotive Ethernet Transceiver (onsemi)
  • NCV7424 - Four Channel LIN Transceiver (ON Semiconducto)
  • NCV7518 - Hex Low side MOSFET Pre driver (ON Semiconducto)
  • NCV7719 - Octal Half-Bridge Driver (ON Semiconducto)

📌 All Tags

ON Semiconductor NCV7351-like datasheet