Datasheet4U Logo Datasheet4U.com

NCV7351F, NCV7351 High Speed CAN Transceiver

📥 Download Datasheet  Datasheet Preview Page 1

Description

NCV7351, NCV7351F High Speed CAN, CAN FD Transceiver The NCV7351 CAN transceiver is the interface between a controller area network (CAN) protocol co.
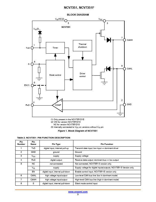
Pin Number Pin Name Pin Type 1 TxD digital input, internal pull. up 2 GND ground 3 VCC 4 RxD supply digital output 5 NC not co.

📥 Download Datasheet

This datasheet PDF includes multiple part numbers: NCV7351F, NCV7351. Please refer to the document for exact specifications by model.
datasheet Preview Page 2 datasheet Preview Page 3

Datasheet Specifications

Part number
NCV7351F, NCV7351
Manufacturer
ON Semiconductor ↗
File Size
115.64 KB
Datasheet
NCV7351-ONSemiconductor.pdf
Description
High Speed CAN Transceiver
Note
This datasheet PDF includes multiple part numbers: NCV7351F, NCV7351.
Please refer to the document for exact specifications by model.

Features

* the NCV7351 is able to reach outstanding levels of electromagnetic susceptibility (EMS). Similarly, extremely low electromagnetic emission (EME) is achieved by the excellent matching of the output signals. Key Features
* Compatible with the ISO 11898
* 2 Standard
* High Speed

Applications

* Requiring Unique Site and Control Change Requirements; AEC
* Q100 Qualified and PPAP Capable Typical Applications
* Automotive
* Industrial Networks www. onsemi. com MARKING DIAGRAM 8 1 SOIC
* 8 CASE 751AZ 8 NV7351
* y ALYW G 1 NV7351
* y / NV7351Fy y = 3

NCV7351F Distributors

📁 Related Datasheet

  • NCV7383 - Transceiver (ON Semiconducto)
  • NCV70628 - Micro-stepping Motor Driver (onsemi)
  • NCV7410 - Automotive Ethernet Transceiver (onsemi)
  • NCV7424 - Four Channel LIN Transceiver (ON Semiconducto)
  • NCV7518 - Hex Low side MOSFET Pre driver (ON Semiconducto)
  • NCV7719 - Octal Half-Bridge Driver (ON Semiconducto)

📌 All Tags

ON Semiconductor NCV7351F-like datasheet